鹏都农牧:2024年上半年亏损3.26亿元

中证智能财讯 鹏都农牧(002505)8月30日披露2024年半年度报告。2024年上半年,公司实现营业收入66.53亿元,同比下降31.48%;归母净利润亏损3.26亿元,上年同期亏损1.95亿元;扣非净利润亏损3.22亿元,上年同期亏损2.01亿元;经营活动产生的现金流量净额为9005.27万元,同比下降37.90%;报告期内,鹏都农牧基本每股收益为-0.0513元,加权平均净资产收益率为-7.62%。

以8月29日收盘价计算,鹏都农牧目前市盈率(TTM)约为-2.15倍,市净率(LF)约为0.58倍,市销率(TTM)约为0.16倍。

公司近年市盈率(TTM)、市净率(LF)、市销率(TTM)历史分位图如下所示:



根据半年报,公司第二季度实现营业总收入30.93亿元,同比下降34.88%,环比下降13.13%;归母净利润-2.1亿元,同比下降35.27%,环比下降80.33%;扣非净利润-2.29亿元,同比下降43.62%,环比下降145.52%。

半年报称,作为一家农业与食品上市公司,公司专注于整合全球优质农业、食品资源,有效对接中国市场及全球市场,满足消费升级需求,报告期内公司主要业务为农资与粮食贸易、肉牛业务、肉羊业务和乳业,各板块协同发展,全力打造全球现代农业的资源集成商和价值链增值服务商。
2024年上半年,公司毛利率为5.73%,同比下降0.89个百分点;净利率为-6.72%,较上年同期下降4.36个百分点。从单季度指标来看,2024年第二季度公司毛利率为2.55%,同比下降0.73个百分点,环比下降5.95个百分点;净利率为-9.02%,较上年同期下降4.83个百分点,较上一季度下降4.30个百分点。

数据显示,2024年上半年公司加权平均净资产收益率为-7.62%,较上年同期下降3.91个百分点;公司2024年上半年投入资本回报率为-2.54%,较上年同期下降3.45个百分点。

2024年上半年,公司经营活动现金流净额为9005.27万元,同比下降37.90%;筹资活动现金流净额-7.98亿元,同比减少6.22亿元;投资活动现金流净额1359.36万元,上年同期为-8128.58万元。
进一步统计发现,2024年上半年公司自由现金流为9488.11万元,相比上年同期下降39.59%。

2024年上半年,公司营业收入现金比为93.04%,净现比为-27.60%。

营运能力方面,2024年上半年,公司总资产周转率为0.46次,上年同期为0.56次(2023年上半年行业平均值为0.33次,公司位居同行业2/22);固定资产周转率为2.53次,上年同期为3.81次(2023年上半年行业平均值为0.92次,公司位居同行业2/22);公司应收账款周转率、存货周转率分别为2.43次、3.12次。

2024年上半年,公司期间费用为8.36亿元,较上年同期增加525.70万元;期间费用率为12.57%,较上年同期上升4.01个百分点。其中,销售费用同比下降19.79%,管理费用同比下降2.53%,研发费用同比下降45.63%,财务费用同比增长52.0%。

资产重大变化方面,截至2024年上半年末,公司应收账款较上年末减少36.88%,占公司总资产比重下降6.00个百分点;货币资金较上年末减少44.84%,占公司总资产比重下降4.64个百分点;存货较上年末增加15.24%,占公司总资产比重上升3.87个百分点;一年内到期的非流动资产较上年末增加256.89%,占公司总资产比重上升2.00个百分点。

负债重大变化方面,截至2024年上半年末,公司短期借款较上年末减少24.04%,占公司总资产比重下降1.19个百分点;长期借款较上年末减少24.33%,占公司总资产比重下降0.81个百分点;应付账款较上年末减少4.71%,占公司总资产比重上升1.86个百分点;衍生金融负债较上年末减少41.35%,占公司总资产比重下降0.61个百分点。

从存货变动来看,截至2024年上半年末,公司存货账面价值为21.5亿元,占净资产的54.64%,较上年末增加2.84亿元。其中,存货跌价准备为2.82亿元,计提比例为11.59%。

在偿债能力方面,公司2024年上半年末资产负债率为66.65%,相比上年末上升0.78个百分点;有息资产负债率为20.07%,相比上年末下降1.52个百分点。

2024年上半年,公司流动比率为1.19,速动比率为0.83。

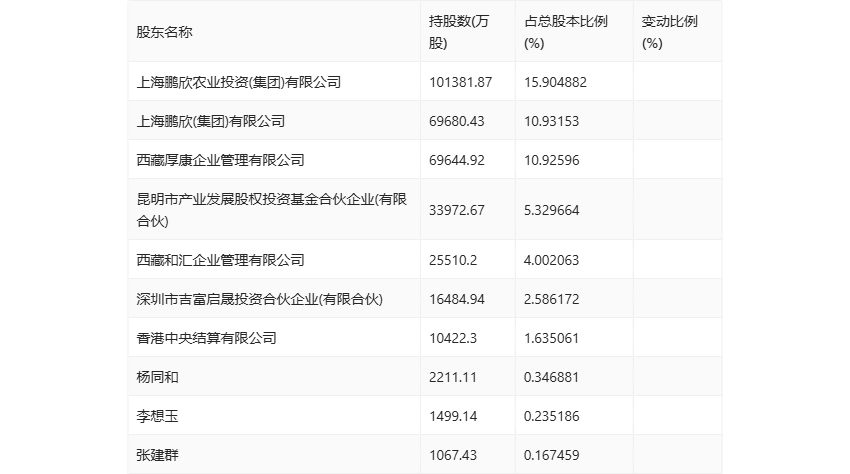
半年报显示,2024年上半年末公司十大流通股东中,新进股东为深圳市吉富启晟投资合伙企业(有限合伙)、杨同和、李想玉、张建群,取代了一季度末的中信建投证券股份有限公司、吉富启瑞天泽2号私募证券投资基金、中信证券股份有限公司、中证500交易型开放式指数证券投资基金。在具体持股比例上,西藏和汇企业管理有限公司持股有所上升,香港中央结算有限公司持股有所下降。

值得注意的是,根据半年报数据,鹏都农牧11.95%股份处于质押状态。其中,第一大股东上海鹏欣农业投资(集团)有限公司质押4.69亿股公司股份,占其全部持股的46.26%。
筹码集中度方面,截至2024年上半年末,公司股东总户数为12.62万户,较一季度末下降了1873户,降幅1.46%;户均持股市值由一季度末的6.07万元下降至2.22万元,降幅为63.43%。

指标注解:
市盈率
=总市值/净利润。当公司亏损时市盈率为负,此时用市盈率估值没有实际意义,往往用市净率或市销率做参考。
市净率
=总市值/净资产。市净率估值法多用于盈利波动较大而净资产相对稳定的公司。
市销率
=总市值/营业收入。市销率估值法通常用于亏损或微利的成长型公司。
文中市盈率和市销率采用TTM方式,即以截至最近一期财报(含预报)12个月的数据计算。市净率采用LF方式,即以最近一期财报数据计算。
市盈率为负时,不显示当期分位数,会导致折线图中断。