涪陵榨菜:2024年上半年净利润4.48亿元 同比下降4.74%

中证智能财讯 涪陵榨菜(002507)8月30日披露2024年半年度报告。2024年上半年,公司实现营业收入13.06亿元,同比下降2.32%;归母净利润4.48亿元,同比下降4.74%;扣非净利润4.25亿元,同比下降1.62%;经营活动产生的现金流量净额为1.65亿元,同比增长1034.77%;报告期内,涪陵榨菜基本每股收益为0.39元,加权平均净资产收益率为5.29%。

以8月29日收盘价计算,涪陵榨菜目前市盈率(TTM)约为17.29倍,市净率(LF)约为1.67倍,市销率(TTM)约为5.75倍。

公司近年市盈率(TTM)、市净率(LF)、市销率(TTM)历史分位图如下所示:



根据半年报,公司第二季度实现营业总收入5.57亿元,同比下降3.37%,环比下降25.55%;归母净利润1.77亿元,同比下降15.58%,环比下降35.01%;扣非净利润1.66亿元,同比下降11.85%,环比下降35.88%。

半年报称,公司主要从事榨菜、下饭菜、泡菜、调味菜、榨菜酱和其他佐餐开味菜等方便食品的研制、生产和销售。在行业中,公司产销量处于领先地位,产品有较高市场占有率,旗下“乌江”品牌具有很高的知名度和美誉度。报告期内,公司持续丰富产品矩阵、巩固市场竞争力,主营业务和盈利能力保持稳定。
分产品来看,2024年上半年公司主营业务中,榨菜收入11.18亿元,同比增长0.49%,占营业收入的85.58%;泡菜收入1.29亿元,同比下降6.24%,占营业收入的9.91%;萝卜收入0.24亿元,同比下降39.42%,占营业收入的1.83%。

2024年上半年,公司毛利率为50.86%,同比下降2.19个百分点;净利率为34.32%,较上年同期下降0.87个百分点。从单季度指标来看,2024年第二季度公司毛利率为49.18%,同比上升0.38个百分点,环比下降2.93个百分点;净利率为31.68%,较上年同期下降4.58个百分点,较上一季度下降4.61个百分点。

分产品看,榨菜、泡菜、萝卜2024年上半年毛利率分别为54.19%、28.83%、32.06%。
数据显示,2024年上半年公司加权平均净资产收益率为5.29%,较上年同期下降0.60个百分点;公司2024年上半年投入资本回报率为4.86%,较上年同期下降0.58个百分点。

2024年上半年,公司经营活动现金流净额为1.65亿元,同比增长1034.77%,主要系报告期支付原材料及销售费用减少所致;筹资活动现金流净额-3.47亿元,同比减少860.55万元;投资活动现金流净额-2.86亿元,上年同期为2.33亿元,主要系报告期理财产品投资现金流量净额减少所致。
进一步统计发现,2024年上半年公司自由现金流为4.93亿元,相比上年同期增长840.94%。

2024年上半年,公司营业收入现金比为108.08%,净现比为36.92%。

营运能力方面,2024年上半年,公司总资产周转率为0.15次,上年同期为0.16次(2023年上半年行业平均值为0.31次,公司位居同行业14/15);固定资产周转率为1.26次,上年同期为1.19次(2023年上半年行业平均值为1.72次,公司位居同行业11/15);公司应收账款周转率、存货周转率分别为23.96次、1.12次。

2024年上半年,公司期间费用为1.51亿元,较上年同期减少3277.01万元;期间费用率为11.53%,较上年同期下降2.18个百分点。其中,销售费用同比下降16.23%,管理费用同比下降5.42%,研发费用同比增长53.54%,财务费用由去年同期的-5245.83万元变为-5345.00万元。
资料显示,研发费用的变动主要因为报告期主要为榨菜自动化去筋设备研发、豆瓣酱产品研发项目,健康益生榨菜新产品开发与产业化等研究项目增加。

资产重大变化方面,截至2024年上半年末,公司其他流动资产较上年末减少66.17%,占公司总资产比重下降7.05个百分点;交易性金融资产较上年末增加12.80%,占公司总资产比重上升2.36个百分点;存货较上年末增加31.85%,占公司总资产比重上升1.71个百分点;货币资金较上年末增加4.67%,占公司总资产比重上升1.44个百分点。

负债重大变化方面,截至2024年上半年末,公司应付账款较上年末增加30.15%,占公司总资产比重上升0.48个百分点,主要系报告期应付未付工程款增加;合同负债较上年末减少58.15%,占公司总资产比重下降0.41个百分点,主要系报告期末公司预收客户产品销售货款减少;其他应付款(含利息和股利)较上年末减少16.13%,占公司总资产比重下降0.27个百分点;应交税费较上年末增加36.67%,占公司总资产比重上升0.12个百分点。

从存货变动来看,截至2024年上半年末,公司存货账面价值为6.53亿元,占净资产的7.83%。根据财报,公司本期没有计提存货跌价准备。

在偿债能力方面,公司2024年上半年末资产负债率为5.96%,相比上年末下降0.03个百分点;有息资产负债率为0。

2024年上半年,公司流动比率为16.44,速动比率为14.90。

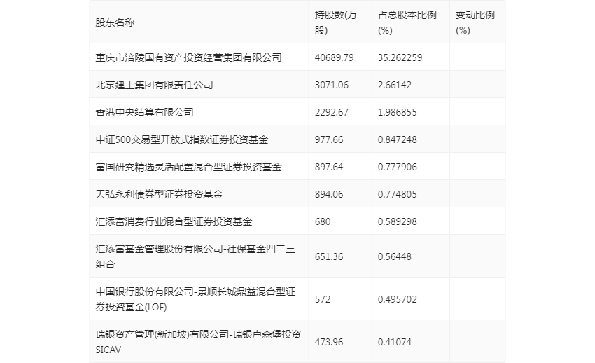
半年报显示,2024年上半年末公司十大流通股东中,新进股东为天弘永利债券型证券投资基金,取代了一季度末的陈增淑。在具体持股比例上,中证500交易型开放式指数证券投资基金、富国研究精选灵活配置混合型证券投资基金、汇添富基金管理股份有限公司-社保基金四二三组合持股有所上升,香港中央结算有限公司持股有所下降、瑞银资产管理(新加坡)有限公司-瑞银卢森堡投资SICAV。

筹码集中度方面,截至2024年上半年末,公司股东总户数为10.5万户,较一季度末下降了3520户,降幅3.24%;户均持股市值由一季度末的14.35万元下降至13.46万元,降幅为6.20%。

指标注解:
市盈率
=总市值/净利润。当公司亏损时市盈率为负,此时用市盈率估值没有实际意义,往往用市净率或市销率做参考。
市净率
=总市值/净资产。市净率估值法多用于盈利波动较大而净资产相对稳定的公司。
市销率
=总市值/营业收入。市销率估值法通常用于亏损或微利的成长型公司。
文中市盈率和市销率采用TTM方式,即以截至最近一期财报(含预报)12个月的数据计算。市净率采用LF方式,即以最近一期财报数据计算。
市盈率为负时,不显示当期分位数,会导致折线图中断。