龙虎榜丨科士达今日涨停,营业部席位合计净买入1.04亿元

查股网  2023-12-21 20:13  科士达(002518)个股分析

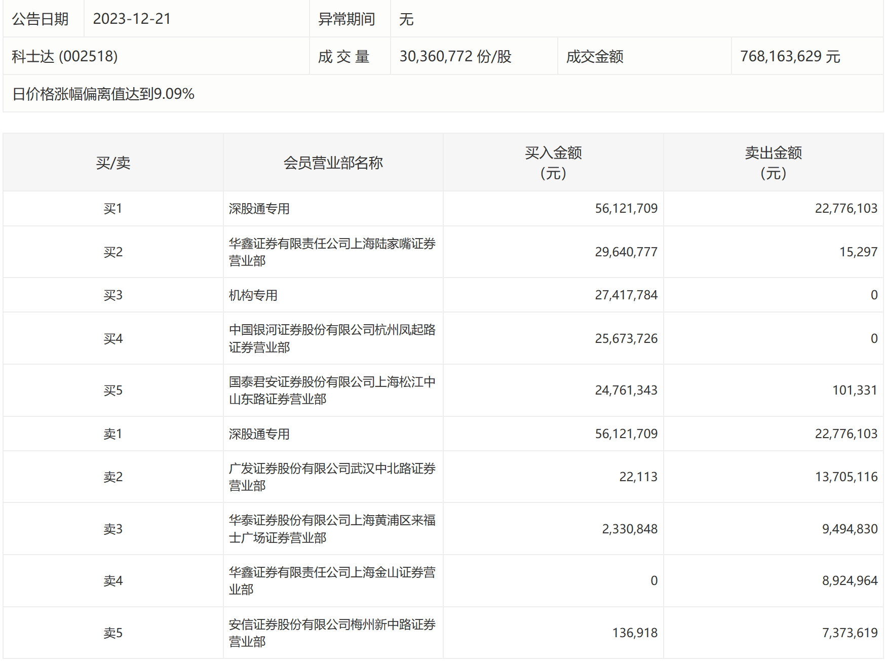
12月21日,科士达今日涨停,全天换手率达5.37%,振幅达11.37%。龙虎榜数据显示,营业部席位合计净买入1.04亿元。其中,机构合计净买入2741.78万元。此外,深股通专用、华鑫证券上海陆家嘴证券营业部分别买入5612.17万元、2964.08万元;深股通专用、广发证券武汉中北路证券营业部分别卖出2277.61万元、1370.51万元。