科士达:2024年第一季度净利润1.34亿元 同比下降42.48%

中证智能财讯 科士达(002518)4月26日披露2024年一季报。2024年第一季度,公司实现营业总收入8.31亿元,同比下降40.75%;归母净利润1.34亿元,同比下降42.48%;扣非净利润1.16亿元,同比下降48.61%;经营活动产生的现金流量净额为-5066.86万元,上年同期为6.17亿元;报告期内,科士达基本每股收益为0.23元,加权平均净资产收益率为3.13%。

2024年第一季度,公司毛利率为33.36%,同比上升1.33个百分点;净利率为16.16%,较上年同期下降1.20个百分点。

数据显示,2024年第一季度公司加权平均净资产收益率为3.13%,较上年同期下降3.25个百分点;公司2024年第一季度投入资本回报率为2.68%,较上年同期下降3.54个百分点。

2024年第一季度,公司经营活动现金流净额为-5066.86万元,同比减少6.67亿元;筹资活动现金流净额-1.10亿元,同比增加7595.61万元;投资活动现金流净额-818.67万元,上年同期为-2.15亿元。

2024年第一季度,公司营业收入现金比为106.15%,净现比为-37.71%。

资产重大变化方面,截至2024年一季度末,公司其他非流动资产较上年末增加18.67%,占公司总资产比重上升1.78个百分点;交易性金融资产较上年末减少45.82%,占公司总资产比重下降1.56个百分点;货币资金较上年末减少8.06%,占公司总资产比重下降1.32个百分点;应收账款较上年末增加2.23%,占公司总资产比重上升0.94个百分点。

负债重大变化方面,截至2024年一季度末,公司应付账款较上年末减少23.11%,占公司总资产比重下降3.05个百分点;短期借款较上年末减少57.35%,占公司总资产比重下降0.93个百分点;合同负债较上年末增加12.90%,占公司总资产比重上升0.43个百分点;应付票据较上年末减少2.64%,占公司总资产比重下降0.03个百分点。

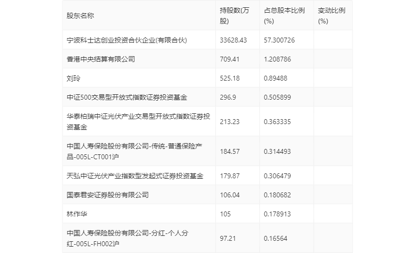
一季报显示,2024年一季度末公司十大流通股东中,新进股东为国泰君安证券股份有限公司、中国人寿保险股份有限公司-分红-个人分红-005L-FH002沪,取代了上年末的中国国际金融股份有限公司、中国国际金融香港资产管理有限公司-CICCFT10(R)。在具体持股比例上,宁波科士达创业投资合伙企业(有限合伙)、香港中央结算有限公司、刘玲、中证500交易型开放式指数证券投资基金、华泰柏瑞中证光伏产业交易型开放式指数证券投资基金、中国人寿保险股份有限公司-传统-普通保险产品-005L-CT001沪、天弘中证光伏产业指数型发起式证券投资基金持股有所上升,林作华持股有所下降。

筹码集中度方面,截至2024年一季度末,公司股东总户数为7.37万户,较上年末下降了6846户,降幅8.50%;户均持股市值由上年末的20.12万元下降至18.60万元,降幅为7.55%。
