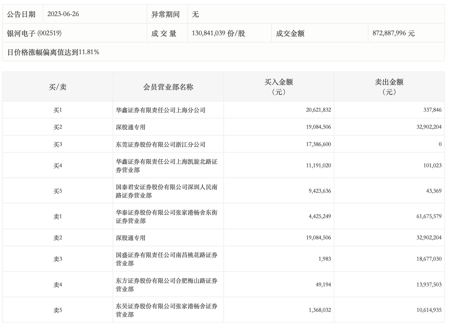
龙虎榜丨银河电子今日涨停,深股通专用买入1908.45万元并卖出3290.22万元

http://ddx.gubit.cn  2023-06-26 16:51  银河电子(002519)公司分析

6月26日,银河电子今日涨停,龙虎榜数据显示,上榜营业部席位全天成交2.22亿元,占当日总成交金额比例为25.41%。其中,买入金额为8355.21万元,卖出金额为1.38亿元,合计净卖出5473.74万元。

具体来看,华鑫证券上海分公司、深股通专用分别买入2062.18万元、1908.45万元;华泰证券张家港杨舍东街证券营业部、深股通专用分别卖出6167.56万元、3290.22万元。