龙虎榜丨天桥起重今日涨停,营业部席位合计净买入879.5万元

查股网  2024-01-09 17:15  天桥起重(002523)个股分析

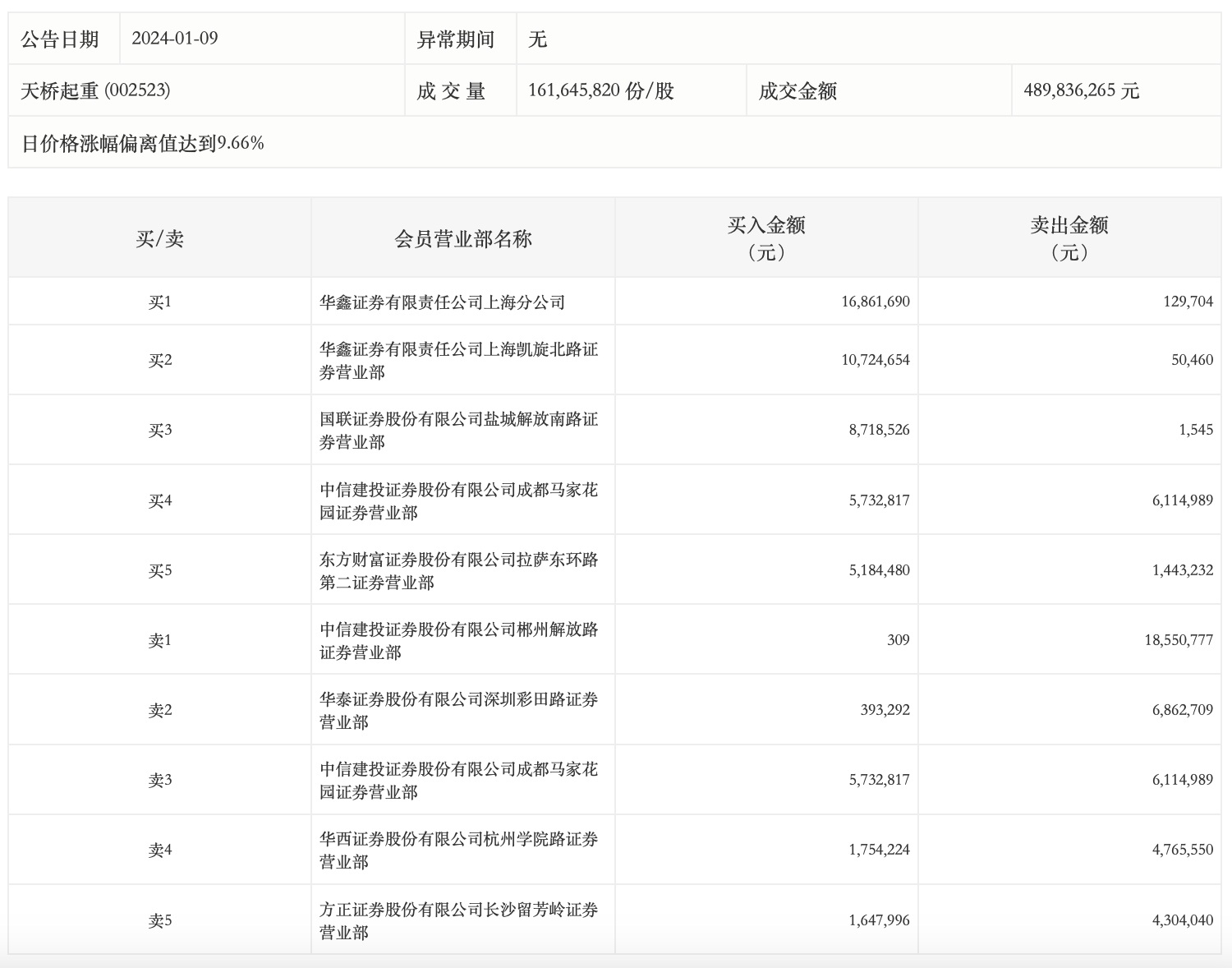
1月9日,天桥起重今日涨停,全天换手率达11.47%,振幅达9.96%。龙虎榜数据显示,营业部席位合计净买入879.5万元。其中,华鑫证券上海分公司、华鑫证券上海凯旋北路证券营业部分别买入1686.17万元、1072.47万元;中信建投证券郴州解放路证券营业部、华泰证券深圳彩田路证券营业部分别卖出1855.08万元、686.27万元。