龙虎榜丨新时达今日涨1.1%,作手新一净买入5190.95万元,章盟主净卖出4195.73万元

http://ddx.gubit.cn  2023-08-21 20:43  新时达(002527)公司分析

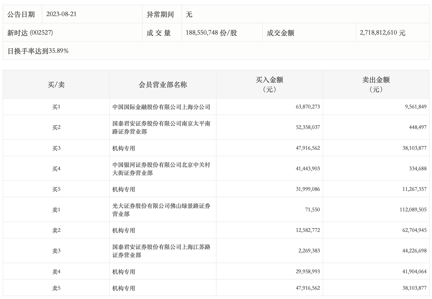
8月21日,新时达今日涨1.1%,龙虎榜数据显示,上榜营业部席位全天成交6.03亿元,占当日总成交金额比例为22.18%。其中,买入金额为2.82亿元,卖出金额为3.21亿元,合计净卖出3817.09万元。

具体来看,机构买入1.22亿元,卖出1.54亿元,合计净卖出3152.28万元。此外,知名游资现身龙虎榜,中国国际金融上海分公司、作手新一(国泰君安证券南京太平南路证券营业部)分别买入6387.03万元、5235.80万元;光大证券佛山绿景路证券营业部、章盟主(国泰君安证券上海江苏路证券营业部)分别卖出1.12亿元、4422.67万元。