龙虎榜 | 海源复材今日跌1.79%,作手新一买入3335.4万元

查股网  2024-10-29 20:56  海源复材(002529)个股分析

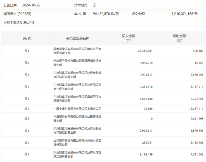
海源复材今日跌1.79%,龙虎榜数据显示,上榜营业部席位全天成交1.42亿元,占当日总成交金额比例为14.04%。其中,买入金额为8372.0万元,卖出金额为5812.31万元,合计净买入2559.69万元。

具体来看,知名游资现身龙虎榜,中国中金财富证券有限公司上海分公司、华鑫证券深圳益田路证券营业部分别卖出1368.74万元、961.20万元;作手新一(国泰君安证券南京太平南路证券营业部)、浙商证券青田涌潮街证券营业部分别买入3335.40万元、1404.81万元。