鸿路钢构:2024年上半年净利润4.28亿元 同比下降22.58%

中证智能财讯 鸿路钢构(002541)8月29日披露2024年半年报。2024年上半年,公司实现营业总收入103.26亿元,同比下降6.73%;归母净利润4.28亿元,同比下降22.58%;扣非净利润2.36亿元,同比下降47.50%;经营活动产生的现金流量净额为-4515.56万元,上年同期为6.54亿元;报告期内,鸿路钢构基本每股收益为0.6224元,加权平均净资产收益率为4.64%。
报告期内,公司合计非经常性损益为1.92亿元,其中计入当期损益的政府补助(与公司正常经营业务密切相关、符合国家政策规定、按照确定的标准享有、对公司损益产生持续影响的政府补助除外)为2.31亿元,非流动性资产处置损益(包括已计提资产减值准备的冲销部分)为-25.94万元。

以8月28日收盘价计算,鸿路钢构目前市盈率(TTM)约为7.64倍,市净率(LF)约为0.87倍,市销率(TTM)约为0.35倍。

公司近年市盈率(TTM)、市净率(LF)、市销率(TTM)历史分位图如下所示:



根据半年报,公司第二季度实现营业总收入58.99亿元,同比下降2.56%,环比增长33.24%;归母净利润2.25亿元,同比下降36.13%,环比增长10.55%;扣非净利润1.48亿元,同比下降51.56%,环比增长69.77%。

资料显示,公司主要从事装配式钢结构及其配套产品制造业务以及少量的钢结构工程业务。
2024年上半年,公司毛利率为10.71%,同比上升0.06个百分点;净利率为4.14%,较上年同期下降0.85个百分点。从单季度指标来看,2024年第二季度公司毛利率为10.80%,同比下降1.01个百分点,环比上升0.21个百分点;净利率为3.81%,较上年同期下降2.00个百分点,较上一季度下降0.78个百分点。

数据显示,2024年上半年公司加权平均净资产收益率为4.64%,较上年同期下降1.88个百分点;公司2024年上半年投入资本回报率为3.26%,较上年同期下降1.23个百分点。

2024年上半年,公司经营活动现金流净额为-4515.56万元,同比减少6.99亿元;筹资活动现金流净额11.00亿元,同比增加3.41亿元;投资活动现金流净额-6.99亿元,上年同期为-12.55亿元。
进一步统计发现,2024年上半年公司自由现金流为-8.19亿元,上年同期为-3.65亿元。

2024年上半年,公司营业收入现金比为113.51%,净现比为-10.56%。

营运能力方面,2024年上半年,公司总资产周转率为0.43次,上年同期为0.52次(2023年上半年行业平均值为0.35次,公司位居同行业2/10);固定资产周转率为1.40次,上年同期为1.78次(2023年上半年行业平均值为3.26次,公司位居同行业9/10);公司应收账款周转率、存货周转率分别为3.59次、1.08次。

2024年上半年,公司期间费用为6.89亿元,较上年同期增加1.45亿元;期间费用率为6.67%,较上年同期上升1.76个百分点。其中,销售费用同比下降1.81%,管理费用同比增长0.4%,研发费用同比增长62.5%,财务费用同比增长13.68%。

资产重大变化方面,截至2024年上半年末,公司固定资产较上年末增加1.69%,占公司总资产比重下降1.10个百分点;货币资金较上年末增加19.70%,占公司总资产比重上升0.82个百分点;存货较上年末增加3.08%,占公司总资产比重下降0.80个百分点;应收账款较上年末增加11.68%,占公司总资产比重上升0.70个百分点。

负债重大变化方面,截至2024年上半年末,公司长期借款较上年末增加28.32%,占公司总资产比重上升3.17个百分点;一年内到期的非流动负债较上年末增加45.21%,占公司总资产比重上升1.25个百分点;应付票据较上年末减少7.89%,占公司总资产比重下降2.18个百分点;短期借款较上年末增加19.44%,占公司总资产比重上升0.73个百分点。

从存货变动来看,截至2024年上半年末,公司存货账面价值为86.78亿元,占净资产的93.66%。根据财报,公司本期没有计提存货跌价准备。

在偿债能力方面,公司2024年上半年末资产负债率为62.24%,相比上年末上升1.73个百分点;有息资产负债率为34.58%,相比上年末上升4.98个百分点。

2024年上半年,公司流动比率为1.72,速动比率为0.72。

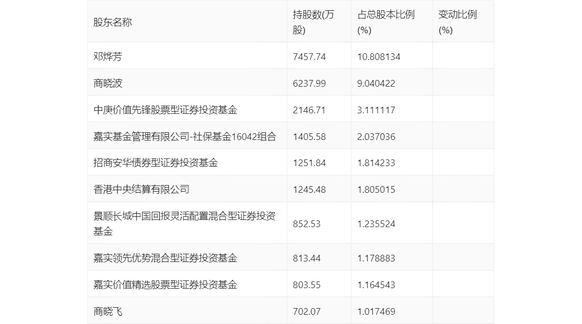
半年报显示,2024年上半年末公司十大流通股东中,新进股东为中庚价值先锋股票型证券投资基金、商晓飞,取代了一季度末的嘉实价值驱动一年持有期混合型证券投资基金、嘉实价值长青混合型证券投资基金。在具体持股比例上,邓烨芳、商晓波、嘉实基金管理有限公司-社保基金16042组合、招商安华债券型证券投资基金、香港中央结算有限公司、嘉实领先优势混合型证券投资基金、嘉实价值精选股票型证券投资基金持股有所下降。

筹码集中度方面,截至2024年上半年末,公司股东总户数为1.52万户,较一季度末下降了3550户,降幅18.91%;户均持股市值由一季度末的54.94万元上升至76.90万元,增幅为39.97%。

指标注解:
市盈率
=总市值/净利润。当公司亏损时市盈率为负,此时用市盈率估值没有实际意义,往往用市净率或市销率做参考。
市净率
=总市值/净资产。市净率估值法多用于盈利波动较大而净资产相对稳定的公司。
市销率
=总市值/营业收入。市销率估值法通常用于亏损或微利的成长型公司。
文中市盈率和市销率采用TTM方式,即以截至最近一期财报(含预报)12个月的数据计算。市净率采用LF方式,即以最近一期财报数据计算。
市盈率为负时,不显示当期分位数,会导致折线图中断。