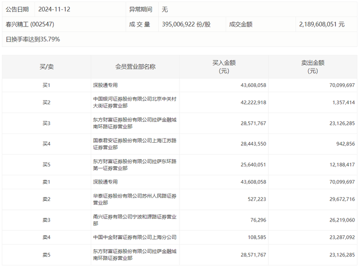
龙虎榜 | 春兴精工今日涨4.36%,章盟主净买入2750.07万元

查股网  2024-11-12 20:39  春兴精工(002547)个股分析

春兴精工今日涨4.36%,龙虎榜数据显示,上榜营业部席位全天成交3.56亿元,占当日总成交金额比例为16.26%。其中,买入金额为1.69亿元,卖出金额为1.87亿元,合计净卖出1769.51万元。

具体来看,知名游资现身龙虎榜,章盟主(国泰君安证券股份有限公司上海江苏路证券营业部)净买入2750.07万元。此外,深股通专用、中国银河证券北京中关村大街证券营业部分别买入4360.81万元、4222.29万元;深股通专用、华泰证券苏州人民路证券营业部分别卖出7009.97万元、2967.27万元。