龙虎榜丨南方精工今日涨4.31%,机构合计净卖出934.2万元

http://ddx.gubit.cn  2023-07-11 16:55  南方精工(002553)公司分析

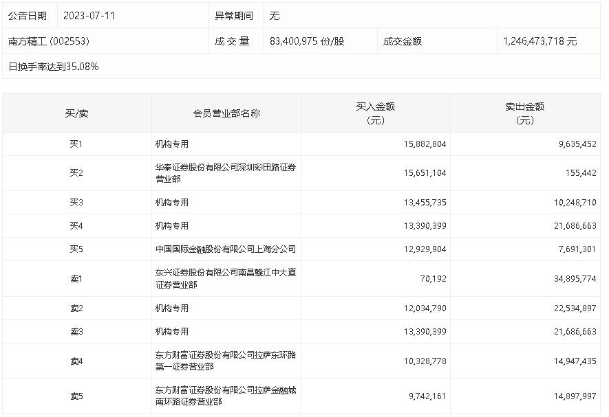
7月11日,南方精工今日涨4.31%,龙虎榜数据显示,上榜营业部席位全天成交2.4亿元,占当日总成交金额比例为19.27%。其中,买入金额为1.03亿元,卖出金额为1.37亿元,合计净卖出3320.78万元。

具体来看,机构买入5476.37万元,卖出6410.57万元,合计净卖出934.2万元。此外,华泰证券深圳彩田路证券营业部、中国国际金融上海分公司分别买入1565.11万元、1292.99万元;东兴证券南昌赣江中大道证券营业部、东方财富证券拉萨东环路第一证券营业部分别卖出3489.58万元、1494.74万元。