龙虎榜丨南方精工今日涨7.73%,机构合计净卖出3476.48万元

http://ddx.gubit.cn  2023-07-20 16:27  南方精工(002553)公司分析

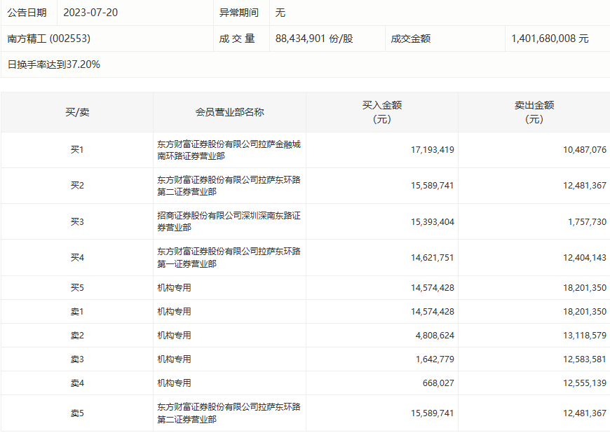
7月20日,南方精工今日涨7.73%,龙虎榜数据显示,上榜营业部席位全天成交1.78亿元,占当日总成交金额比例为12.7%。其中,买入金额为8449.22万元,卖出金额为9358.9万元,合计净卖出909.68万元。

具体来看,机构买入2169.39万元,卖出5645.86万元,合计净卖出3476.48万元。此外,东方财富证券拉萨金融城南环路证券营业部、东方财富证券拉萨东环路第二证券营业部分别买入1719.34万元、1558.97万元;东方财富证券拉萨东环路第二证券营业部、东方财富证券拉萨东环路第一证券营业部分别卖出1248.14万元、1240.41万元。