龙虎榜丨南方精工今日跌停,机构合计净卖出2311.96万元

http://ddx.gubit.cn  2023-07-21 16:58  南方精工(002553)公司分析

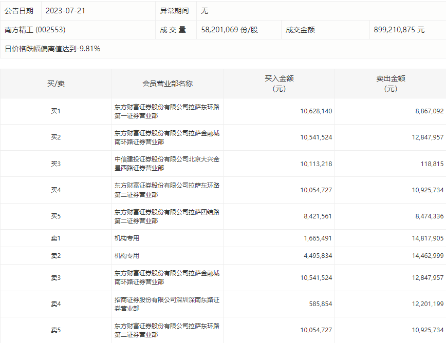
7月21日,南方精工今日跌停,龙虎榜数据显示,上榜营业部席位全天成交1.39亿元,占当日总成交金额比例为15.48%。其中,买入金额为5650.63万元,卖出金额为8271.6万元,合计净卖出2620.97万元。

具体来看,机构买入616.13万元,卖出2928.09万元,合计净卖出2311.96万元。此外,东方财富证券拉萨金融城南环路证券营业部、招商证券深圳深南东路证券营业部分别卖出1284.80万元、1220.12万元;东方财富证券拉萨东环路第一证券营业部、东方财富证券拉萨金融城南环路证券营业部分别买入1062.81万元、1054.15万元。