龙虎榜丨亚威股份今日涨停,机构合计净卖出2377.02万元

http://ddx.gubit.cn  2023-07-24 16:38  亚威股份(002559)公司分析

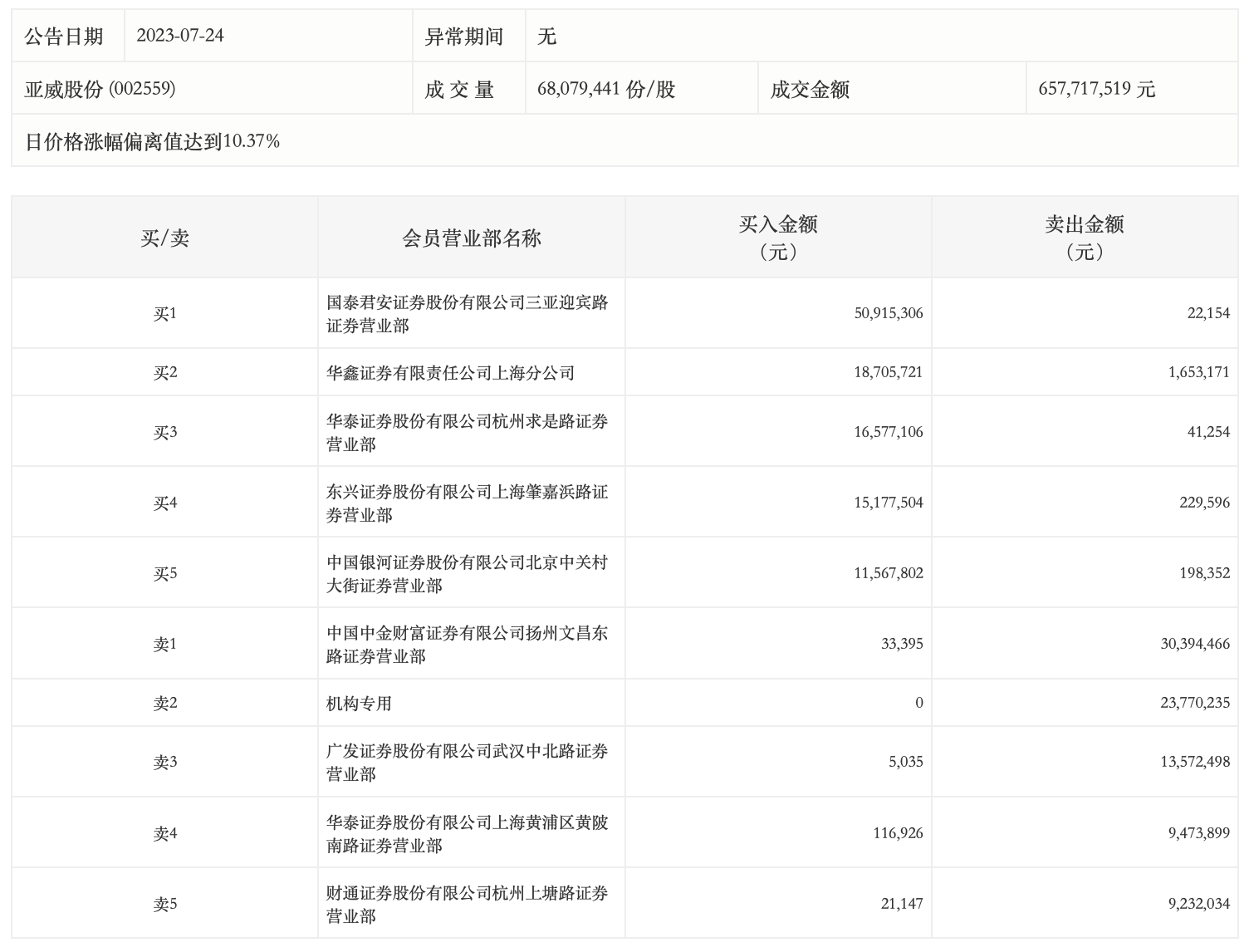
7月24日,亚威股份今日涨停,龙虎榜数据显示,上榜营业部席位全天成交2.02亿元,占当日总成交金额比例为30.67%。其中,买入金额为1.13亿元,卖出金额为8858.77万元,合计净买入2453.23万元。

具体来看,机构合计净卖出2377.02万元。此外,国泰君安证券三亚迎宾路证券营业部、华鑫证券上海分公司分别买入5091.53万元、1870.57万元;中国中金财富证券有限公司扬州文昌东路证券营业部、广发证券武汉中北路证券营业部分别卖出3039.45万元、1357.25万元。