龙虎榜丨亚威股份今日跌停,知名游资宁波桑田路净卖出3720.4万元

查股网  2023-11-23 20:44  亚威股份(002559)个股分析

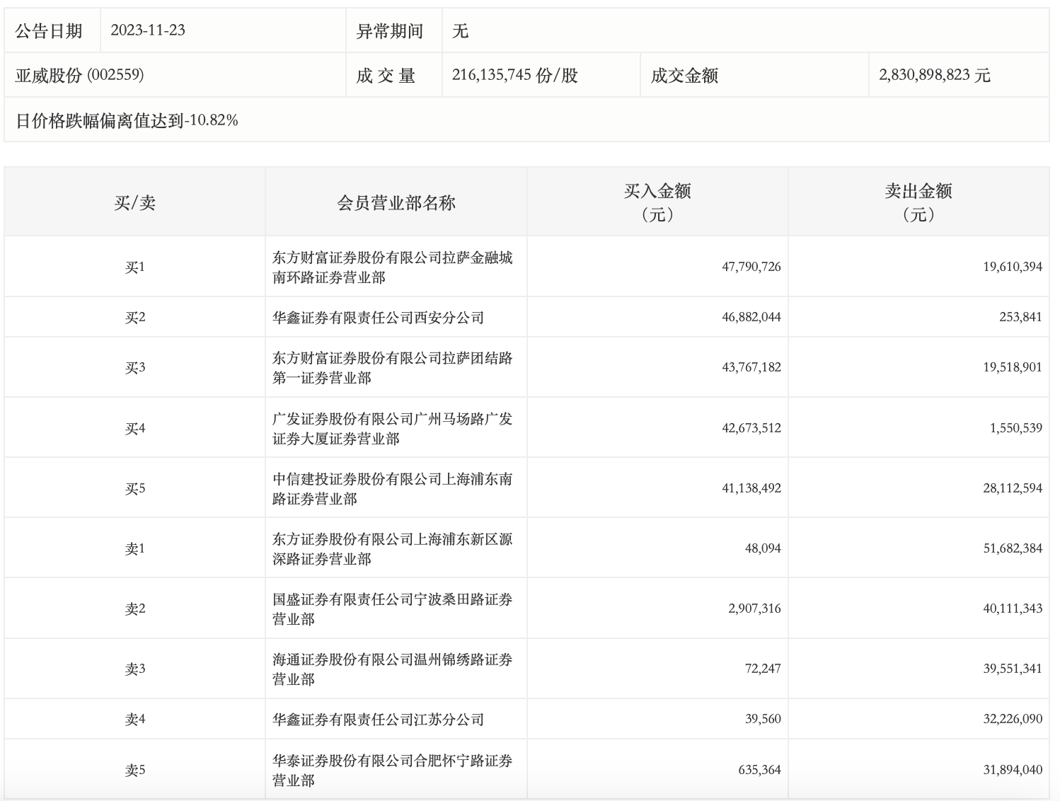
11月23日,亚威股份今日跌停,龙虎榜数据显示,上榜营业部席位全天成交4.9亿元,占当日总成交金额比例为17.33%。其中,买入金额为2.26亿元,卖出金额为2.65亿元,合计净卖出3855.69万元。

具体来看,知名游资现身龙虎榜,东方证券上海浦东新区源深路证券营业部、宁波桑田路(国盛证券宁波桑田路证券营业部)分别卖出5168.24万元、4011.13万元;东方财富证券拉萨金融城南环路证券营业部、华鑫证券西安分公司分别买入4779.07万元、4688.20万元。