龙虎榜丨亚威股份今日涨停,机构合计净卖出2735.26万元

查股网  2024-02-26 16:53  亚威股份(002559)个股分析

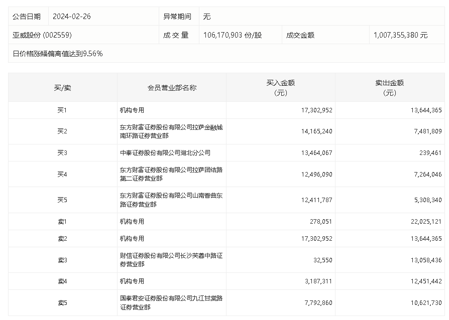
2月26日,亚威股份今日涨停,龙虎榜数据显示,上榜营业部席位全天成交1.73亿元,占当日总成交金额比例为17.2%。其中,买入金额为8113.09万元,卖出金额为9209.47万元,合计净卖出1096.38万元。

具体来看,机构买入2076.83万元,卖出4812.09万元,合计净卖出2735.26万元。此外,东方财富证券拉萨金融城南环路证券营业部、中泰证券湖北分公司分别买入1416.52万元、1346.41万元;财信证券长沙芙蓉中路证券营业部、国泰君安证券九江甘棠路证券营业部分别卖出1305.84万元、1062.17万元。