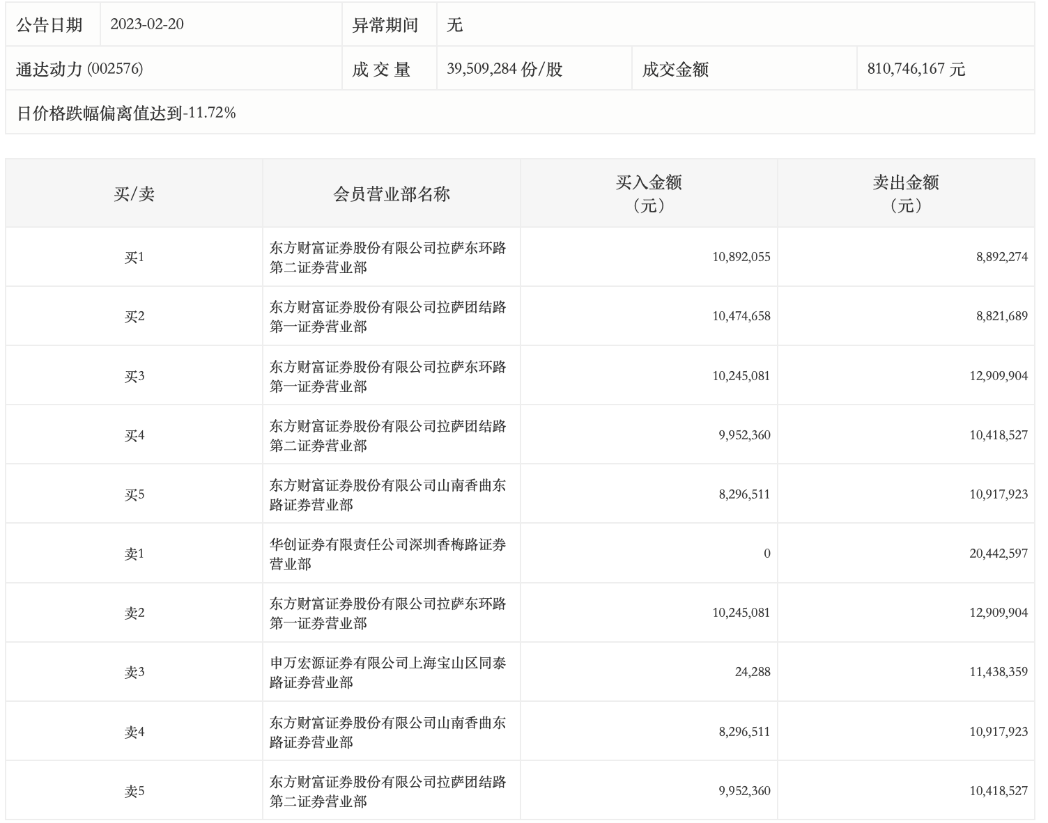
龙虎榜丨通达动力今日跌停,上榜营业部席位全天成交1.34亿元

http://ddx.gubit.cn  2023-02-20 20:54  通达动力(002576)公司分析

2月20日,通达动力今日跌停,龙虎榜数据显示,上榜营业部席位全天成交1.34亿元,占当日总成交金额比例为16.49%。其中,买入金额为4988.5万元,卖出金额为8384.13万元,合计净卖出3395.63万元。

具体来看,华创证券深圳香梅路证券营业部、东方财富证券拉萨东环路第一证券营业部分别卖出2044.26万元、1290.99万元;东方财富证券拉萨东环路第二证券营业部、东方财富证券拉萨团结路第一证券营业部分别买入1089.21万元、1047.47万元。