海能达:2024年上半年净利润1.62亿元 同比增长109.79%

中证智能财讯 海能达(002583)8月7日披露2024年半年报。2024年上半年,公司实现营业总收入27.38亿元,同比增长21.28%;归母净利润1.62亿元,同比增长109.79%;扣非净利润1.49亿元,同比增长135.27%;经营活动产生的现金流量净额为3826.17万元,同比下降65.74%;报告期内,海能达基本每股收益为0.0893元,加权平均净资产收益率为2.73%。

以8月6日收盘价计算,海能达目前市盈率(TTM)约为-23.65倍,市净率(LF)约为1.19倍,市销率(TTM)约为1.17倍。

公司近年市盈率(TTM)、市净率(LF)、市销率(TTM)历史分位图如下所示:



根据半年报,公司第二季度实现营业总收入14.73亿元,同比增长5.13%,环比增长16.37%;归母净利润5012.55万元,同比下降62.52%,环比下降55.35%;扣非净利润6247.95万元,同比下降50.13%,环比下降27.62%。

半年报称,公司是我国专用通信领域的领军企业和全球专用通信领域的技术领先企业,秉承“不懈努力,为用户创造价值,让世界更高效、更安全”的企业使命,致力于“成为全球值得信赖的专用通信及解决方案提供商”。
分产品来看,2024年上半年公司主营业务中,终端收入12.69亿元,同比增长17.44%,占营业收入的46.34%;系统收入8.31亿元,同比增长15.75%,占营业收入的30.35%。

2024年上半年,公司毛利率为45.83%,同比下降3.77个百分点;净利率为5.20%,较上年同期上升1.82个百分点。从单季度指标来看,2024年第二季度公司毛利率为43.52%,同比下降6.37个百分点,环比下降4.99个百分点;净利率为2.85%,较上年同期下降6.98个百分点,较上一季度下降5.09个百分点。

分产品看,终端、系统2024年上半年毛利率分别为58.83%、52.43%。

数据显示,2024年上半年公司加权平均净资产收益率为2.73%,较上年同期增长1.50个百分点;公司2024年上半年投入资本回报率为1.93%,较上年同期增长0.91个百分点。

2024年上半年,公司经营活动现金流净额为3826.17万元,同比下降65.74%,主要系报告期内支付诉讼担保金所致;筹资活动现金流净额-2.24亿元,同比减少2.04亿元,主要系报告期内偿还到期公司债券所致;投资活动现金流净额-1.25亿元,上年同期为-1.46亿元。
进一步统计发现,2024年上半年公司自由现金流为1.70亿元,上年同期为-1.19亿元。

2024年上半年,公司营业收入现金比为111.54%,净现比为23.56%。

营运能力方面,2024年上半年,公司公司总资产周转率为0.23次,上年同期为0.20次(2023年上半年行业平均值为0.22次,公司位居同行业25/37);固定资产周转率为2.79次,上年同期为2.16次(2023年上半年行业平均值为2.01次,公司位居同行业16/37);公司应收账款周转率、存货周转率分别为1.07次、0.84次。

2024年上半年,公司期间费用为11.33亿元,较上年同期增加1.06亿元;但期间费用率为41.39%,较上年同期下降4.12个百分点。其中,销售费用同比下降12.93%,管理费用同比增长22.08%,研发费用同比增长5.1%,财务费用由去年同期的-909.20万元变为6757.63万元。

资产重大变化方面,截至2024年上半年末,公司其他流动资产较上年末增加35.24%,占公司总资产比重上升2.31个百分点;一年内到期的非流动资产较上年末减少75.82%,占公司总资产比重下降1.90个百分点;存货较上年末增加7.39%,占公司总资产比重上升1.44个百分点;应收票据较上年末减少61.64%,占公司总资产比重下降1.13个百分点。

负债重大变化方面,截至2024年上半年末,公司一年内到期的非流动负债较上年末减少83.68%,占公司总资产比重下降3.36个百分点;短期借款较上年末增加8.63%,占公司总资产比重上升1.74个百分点;应付账款较上年末减少5.52%,占公司总资产比重下降0.30个百分点;应交税费较上年末减少36.08%,占公司总资产比重下降0.37个百分点。

从存货变动来看,截至2024年上半年末,公司存货账面价值为18.29亿元,占净资产的30.39%,较上年末增加1.26亿元。其中,存货跌价准备为1.82亿元,计提比例为9.07%。

在偿债能力方面,公司2024年上半年末资产负债率为46.54%,相比上年末下降2.35个百分点;有息资产负债率为19.60%,相比上年末下降1.54个百分点。

2024年上半年,公司流动比率为1.61,速动比率为1.18。

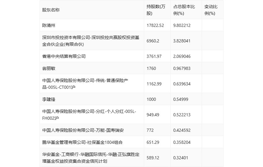
半年报显示,2024年上半年末公司十大流通股东中,新进股东为李建锋、鹏华基金管理有限公司-社保基金1804组合、华安基金-工商银行-华融国际信托-华融·正弘旗胜定增基金权益投资集合资金信托计划,取代了一季度末的盈富增信添利20号私募证券投资基金、广发聚丰混合型证券投资基金、全国社保基金一零二组合。在具体持股比例上,香港中央结算有限公司、中国人寿保险股份有限公司-传统-普通保险产品-005L-CT001沪、中国人寿保险股份有限公司-分红-个人分红-005L-FH002沪、中国人寿保险股份有限公司-万能-国寿瑞安持股有所下降。

值得注意的是,根据半年报数据,海能达19.72%股份处于质押状态。其中,第一大股东陈清州质押3.47亿股公司股份,占其全部持股的48.69%。

指标注解:
市盈率
=总市值/净利润。当公司亏损时市盈率为负,此时用市盈率估值没有实际意义,往往用市净率或市销率做参考。
市净率
=总市值/净资产。市净率估值法多用于盈利波动较大而净资产相对稳定的公司。
市销率
=总市值/营业收入。市销率估值法通常用于亏损或微利的成长型公司。
文中市盈率和市销率采用TTM方式,即以截至最近一期财报(含预报)12个月的数据计算。市净率采用LF方式,即以最近一期财报数据计算。
市盈率为负时,不显示当期分位数,会导致折线图中断。