查股网.CN
首页
选股
热点
资金
板块
大盘
DDX
游资
龙虎
导航
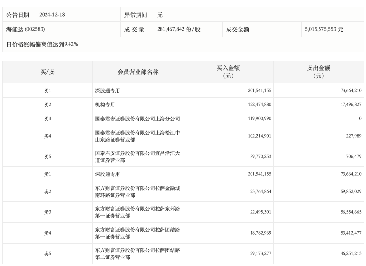
龙虎榜丨海能达今日涨停,一机构专用席位净买入1.05亿元
龙虎榜丨海能达今日涨停,一机构专用席位净买入1.05亿元
查股网
2024-12-18 16:35
海能达(002583)个股分析
12月18日,
海能达
今日涨停,成交额50.16亿元,换手率21.95%,盘后龙虎榜数据显示,深股通专用席位买入2.02亿元并卖出7366.42万元,一机构专用席位净买入1.05亿元。