龙虎榜丨西陇科学今日跌停,知名游资方新侠净买入1587.45万元

查股网  2024-01-04 21:07  西陇科学(002584)个股分析

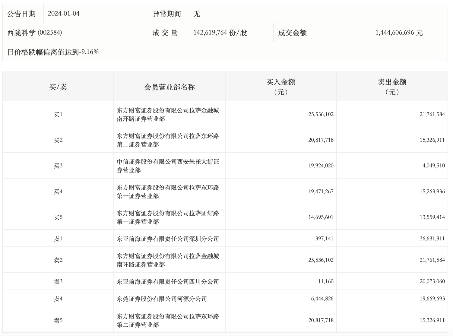
1月4日,西陇科学(维权)今日跌停,龙虎榜数据显示,上榜营业部席位全天成交2.54亿元,占当日总成交金额比例为17.56%。其中,买入金额为1.07亿元,卖出金额为1.46亿元,合计净卖出3903.76万元。

具体来看,知名游资现身龙虎榜,方新侠(中信证券股份有限公司西安朱雀大街证券营业部)净买入1587.45万元。此外,东亚前海证券深圳分公司、东方财富证券拉萨金融城南环路证券营业部分别卖出3663.13万元、2176.16万元;东方财富证券拉萨金融城南环路证券营业部、东方财富证券拉萨东环路第二证券营业部分别买入2553.61万元、2081.77万元。