龙虎榜丨奥拓电子今日涨4.07%,机构合计净卖出3580.82万元

http://ddx.gubit.cn  2023-06-09 16:54  奥拓电子(002587)公司分析

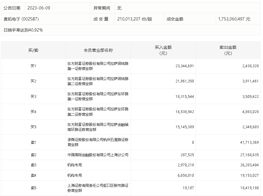
6月9日,奥拓电子今日涨4.07%,龙虎榜数据显示,上榜营业部席位全天成交2.55亿元,占当日总成交金额比例为14.55%。其中,买入金额为1.05亿元,卖出金额为1.5亿元,合计净卖出4458.07万元。

具体来看,机构买入962.82万元,卖出4543.64万元,合计净卖出3580.82万元。此外,东方财富证券拉萨团结路第一证券营业部、东方财富证券拉萨团结路第二证券营业部分别买入2334.47万元、2196.13万元;浙商证券杭州五星路证券营业部、中国国际金融上海分公司分别卖出4171.34万元、2716.06万元。