领益智造:2024年第一季度净利润4.61亿元 同比下降28.72%

中证智能财讯 领益智造(002600)4月30日披露2024年一季报。2024年第一季度,公司实现营业总收入97.99亿元,同比增长35.83%;归母净利润4.61亿元,同比下降28.72%;扣非净利润3.52亿元,同比下降17.73%;经营活动产生的现金流量净额为10.74亿元,同比下降57.89%;报告期内,领益智造基本每股收益为0.07元,加权平均净资产收益率为2.50%。


2024年第一季度,公司毛利率为14.99%,同比下降5.50个百分点;净利率为4.69%,较上年同期下降4.26个百分点。

数据显示,2024年第一季度公司加权平均净资产收益率为2.50%,较上年同期下降1.20个百分点;公司2024年第一季度投入资本回报率为1.90%,较上年同期下降0.83个百分点。

2024年第一季度,公司经营活动现金流净额为10.74亿元,同比下降57.89%,主要系本期购买商品支付的现金增加所致;筹资活动现金流净额8.30亿元,同比增加10.24亿元,主要系本期取得的借款收到的现金增加所致;投资活动现金流净额-8.57亿元,上年同期为-6.48亿元,主要系本期购建长期资产支付的现金增加所致。

2024年第一季度,公司营业收入现金比为107.46%,净现比为232.91%。

资产重大变化方面,截至2024年一季度末,公司货币资金较上年末增加36.99%,占公司总资产比重上升2.82个百分点;存货较上年末减少14.35%,占公司总资产比重下降2.42个百分点;在建工程较上年末增加30.07%,占公司总资产比重上升0.79个百分点;其他应收款(含利息和股利)较上年末减少32.39%,占公司总资产比重下降0.28个百分点。

负债重大变化方面,截至2024年一季度末,公司长期借款较上年末增加41.93%,占公司总资产比重上升4.25个百分点;应付账款较上年末减少7.98%,占公司总资产比重下降1.91个百分点;短期借款较上年末减少23.28%,占公司总资产比重下降0.98个百分点;一年内到期的非流动负债较上年末减少13.35%,占公司总资产比重下降0.86个百分点。

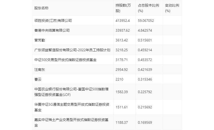
一季报显示,2024年一季度末公司十大流通股东中,新进股东为中国农业银行股份有限公司-富国中证500指数增强型证券投资基金(LOF)、嘉实中证稀土产业交易型开放式指数证券投资基金,取代了上年末的中国光大银行股份有限公司-兴全商业模式优选混合型证券投资基金(LOF)、兴全新视野灵活配置定期开放混合型发起式证券投资基金。在具体持股比例上,中证500交易型开放式指数证券投资基金、华夏中证5G通信主题交易型开放式指数证券投资基金持股有所上升,香港中央结算有限公司持股有所下降。

筹码集中度方面,截至2024年一季度末,公司股东总户数为20.49万户,较上年末增长了2.37万户,增幅13.09%;户均持股市值由上年末的26.15万元下降至18.78万元,降幅为28.18%。
