世纪华通:2023年盈利5.24亿元 同比扭亏

中证智能财讯 世纪华通(002602)4月30日披露2023年年报。2023年,公司实现营业总收入132.85亿元,同比增长15.77%;归母净利润5.24亿元,同比扭亏;扣非净利润4.21亿元,同比扭亏;经营活动产生的现金流量净额为31.02亿元,同比增长108.09%;报告期内,世纪华通基本每股收益为0.07元,加权平均净资产收益率为2.07%。

以4月29日收盘价计算,世纪华通目前市盈率(TTM)约为62.57倍,市净率(LF)约为1.32倍,市销率(TTM)约为2.47倍。

公司近年市盈率(TTM)、市净率(LF)、市销率(TTM)历史分位图如下所示:



数据统计显示,世纪华通近三年营业总收入复合增长率为-3.93%,在游戏Ⅲ行业已披露2023年数据的26家公司中排名第16。近三年净利润复合年增长率为-43.76%,排名22/26。

年报称,公司业务主要分为互联网游戏、人工智能云数据和汽车零部件制造三个板块。
分产品来看,2023年公司主营业务中,移动端游戏收入77.93亿元,同比增长38.15%,占营业收入的58.66%;电脑端游戏收入31.33亿元,同比增长6.27%,占营业收入的23.58%;汽车零部件收入15.76亿元,同比下降1.76%,占营业收入的11.86%。

截至2023年末,公司员工总数为5656人,人均创收234.88万元,人均创利9.27万元,人均薪酬39.28万元,较上年同期分别变化21.07%、107.73%、-7.70%。
2023年,公司毛利率为60.51%,同比上升8.99个百分点;净利率为4.42%,较上年同期上升66.16个百分点。从单季度指标来看,2023年第四季度公司毛利率为59.61%,同比上升15.18个百分点,环比下降5.10个百分点;净利率为-25.87%,较上年同期上升308.49个百分点,较上一季度下降41.82个百分点。

分产品看,移动端游戏、电脑端游戏、汽车零部件2023年毛利率分别为68.59%、70.76%、13.09%。

报告期内,公司前五大客户合计销售金额71.57亿元,占总销售金额比例为53.86%,公司前五名供应商合计采购金额42.50亿元,占年度采购总额比例为38.87%。


数据显示,2023年公司加权平均净资产收益率为2.07%,较上年同期增长27.78个百分点;公司2023年投入资本回报率为2.75%,较上年同期增长24.01个百分点。

2023年,公司经营活动现金流净额为31.02亿元,同比增长108.09%;筹资活动现金流净额314.88万元,同比增加7.34亿元;投资活动现金流净额-13.60亿元,上年同期为-18.83亿元。
进一步统计发现,2023年公司自由现金流为21.47亿元,上年同期为-54.73亿元。

2023年,公司营业收入现金比为100.31%,净现比为592.00%。

营运能力方面,2023年,公司公司总资产周转率为0.38次,上年同期为0.31次(2022年行业平均值为0.49次,公司位居同行业17/27);固定资产周转率为9.09次,上年同期为8.43次(2022年行业平均值为21.44次,公司位居同行业16/27);公司应收账款周转率、存货周转率分别为5.34次、8.09次。

资产重大变化方面,截至2023年年末,公司无形资产较上年末增加862.89%,占公司总资产比重上升6.12个百分点;商誉较上年末增加0.16%,占公司总资产比重下降3.86个百分点;货币资金较上年末增加59.96%,占公司总资产比重上升2.82个百分点;其他非流动金融资产较上年末减少0.45%,占公司总资产比重下降1.92个百分点。

负债重大变化方面,截至2023年年末,公司长期借款较上年末增加29037.68%,占公司总资产比重上升7.67个百分点;长期应付款合计较上年末减少33.98%,占公司总资产比重下降3.32个百分点;其他应付款(含利息和股利)较上年末增加63.46%,占公司总资产比重上升1.52个百分点;一年内到期的非流动负债较上年末增加287.69%,占公司总资产比重上升1.30个百分点。

从存货变动来看,截至2023年年末,公司存货账面价值为6.7亿元,占净资产的2.69%,较上年末增加4278.79万元。其中,存货跌价准备为1342.35万元,计提比例为1.97%。

2023年全年,公司研发投入金额为15.73亿元,同比下降16.09%;研发投入占营业收入比例为11.84%,相比上年同期下降4.50个百分点。此外,公司全年研发投入资本化率为0。


2023年,世纪华通的商誉达到120.96亿元,相当于同期公司净资产248.99亿元的48.58%。
在偿债能力方面,公司2023年年末资产负债率为30.41%,相比上年末上升6.51个百分点;有息资产负债率为10.78%,相比上年末上升8.45个百分点。

2023年,公司流动比率为1.36,速动比率为1.25。

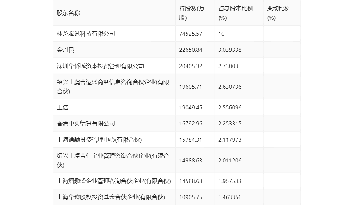
年报显示,2023年年末公司十大流通股东中,新进股东为金丹良,取代了三季度末的华夏中证动漫游戏交易型开放式指数证券投资基金。在具体持股比例上,香港中央结算有限公司持股有所下降。

值得注意的是,根据年报数据,世纪华通13.56%股份处于质押状态。其中,第一大股东王佶质押7.15亿股公司股份,占其全部持股的93.79%。
筹码集中度方面,截至2023年年末,公司股东总户数为17.99万户,较三季度末下降了4808户,降幅2.60%;户均持股市值由三季度末的19.48万元上升至21.37万元,增幅为9.70%。

指标注解:
市盈率
=总市值/净利润。当公司亏损时市盈率为负,此时用市盈率估值没有实际意义,往往用市净率或市销率做参考。
市净率
=总市值/净资产。市净率估值法多用于盈利波动较大而净资产相对稳定的公司。
市销率
=总市值/营业收入。市销率估值法通常用于亏损或微利的成长型公司。
文中市盈率和市销率采用TTM方式,即以截至最近一期财报(含预报)12个月的数据计算。市净率采用LF方式,即以最近一期财报数据计算。
市盈率为负时,不显示当期分位数,会导致折线图中断。