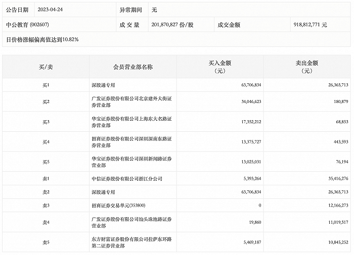
龙虎榜丨中公教育今日涨停,深股通专用买入6370.68万元并卖出2636.57万元

http://ddx.gubit.cn  2023-04-24 21:53  中公教育(002607)公司分析

4月24日,中公教育今日涨停,龙虎榜数据显示,上榜营业部席位全天成交2.49亿元,占当日总成交金额比例为27.1%。其中,买入金额为1.52亿元,卖出金额为9658.25万元,合计净买入5580.62万元。

具体来看,深股通专用、广发证券北京建外大街证券营业部分别买入6370.68万元、3404.66万元;中信证券浙江分公司、深股通专用分别卖出3541.63万元、2636.57万元。