查股网.CN
首页
选股
热点
资金
板块
大盘
DDX
游资
龙虎
导航
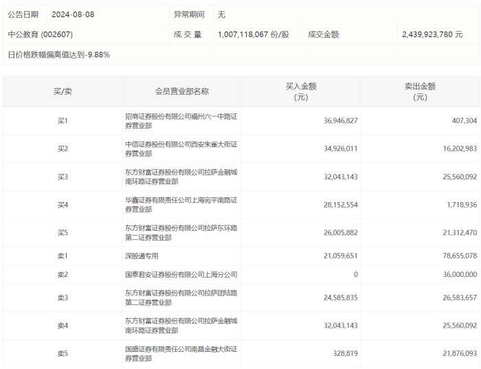
龙虎榜 | 中公教育今日跌停,炒股养家净买入2643.37万元
龙虎榜 | 中公教育今日跌停,炒股养家净买入2643.37万元
查股网
2024-08-08 16:28
中公教育(002607)个股分析
中公教育
今日跌停,成交额24.40亿元,换手率20.69%,盘后龙虎榜数据显示,炒股养家席位净买入2643.37万元,深股通专用席位买入2105.97万元并卖出7865.51万元。