龙虎榜丨中公教育今日跌停,上榜营业部合计净卖出1.13亿元

查股网  2024-08-12 21:21  中公教育(002607)个股分析

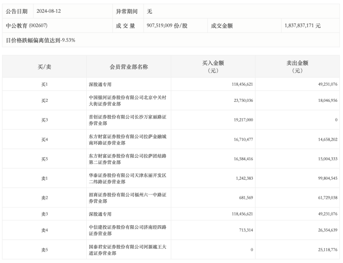
8月12日,中公教育(维权)今日跌停,龙虎榜数据显示,上榜营业部席位全天成交5.07亿元,占当日总成交金额比例为27.6%。其中,买入金额为1.97亿元,卖出金额为3.1亿元,合计净卖出1.13亿元。

具体来看,华泰证券天津东丽开发区二纬路证券营业部、招商证券福州六一中路证券营业部分别卖出9980.45万元、6172.90万元;深股通专用、中国银河证券北京中关村大街证券营业部分别买入1.18亿元、2375.00万元。