龙虎榜丨中公教育今日涨停,知名游资方新侠净买入3071.82万元

查股网  2024-09-19 18:22  中公教育(002607)个股分析

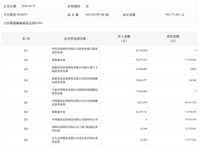
9月19日,中公教育(维权)今日涨停,龙虎榜数据显示,上榜营业部席位全天成交2.1亿元,占当日总成交金额比例为23.17%。其中,买入金额为1.18亿元,卖出金额为9194.28万元,合计净买入2596.51万元。

具体来看,知名游资现身龙虎榜,方新侠(中信证券西安朱雀大街证券营业部)、深股通专用分别买入3071.82万元、2667.07万元;中国银河证券北京知春路证券营业部、深股通专用分别卖出3494.36万元、1751.84万元。