龙虎榜丨中公教育今日跌停,机构合计净卖出3840.19万元

查股网  2024-11-18 21:19  中公教育(002607)个股分析

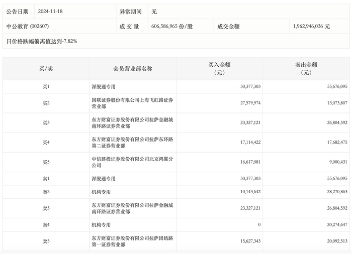
11月18日,中公教育(维权)今日跌停,龙虎榜数据显示,上榜营业部席位全天成交3.32亿元,占当日总成交金额比例为16.9%。其中,买入金额为1.41亿元,卖出金额为1.91亿元,合计净卖出5008.85万元。

具体来看,机构买入1014.36万元,卖出4854.55万元,合计净卖出3840.19万元。此外,深股通专用、东方财富证券拉萨金融城南环路证券营业部分别卖出5567.61万元、2680.46万元;深股通专用、国联证券上海飞虹路证券营业部分别买入3037.73万元、2758.00万元。