龙虎榜丨中公教育今日涨停,知名游资方新侠净买入8528.85

查股网  2024-12-16 21:24  中公教育(002607)个股分析

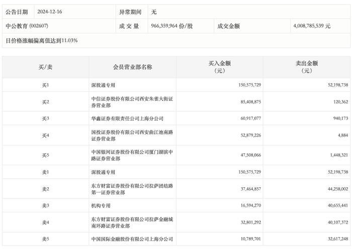
12月16日,中公教育今日涨停,龙虎榜数据显示,上榜营业部席位全天成交7.07亿元,占当日总成交金额比例为17.64%。其中,买入金额为4.95亿元,卖出金额为2.12亿元,合计净买入2.83亿元。

具体来看,机构买入1659.43万元,卖出4065.54万元,合计净卖出2406.12万元。此外,知名游资现身龙虎榜,深股通专用、方新侠(中信证券西安朱雀大街证券营业部)分别买入1.51亿元、8540.89万元;深股通专用、东方财富证券拉萨团结路第一证券营业部分别卖出5219.87万元、4425.80万元。