龙虎榜丨爱康科技今日涨停,知名游资方新侠净买入2213.36万元

查股网  2024-01-10 16:30  爱康科技(002610)个股分析

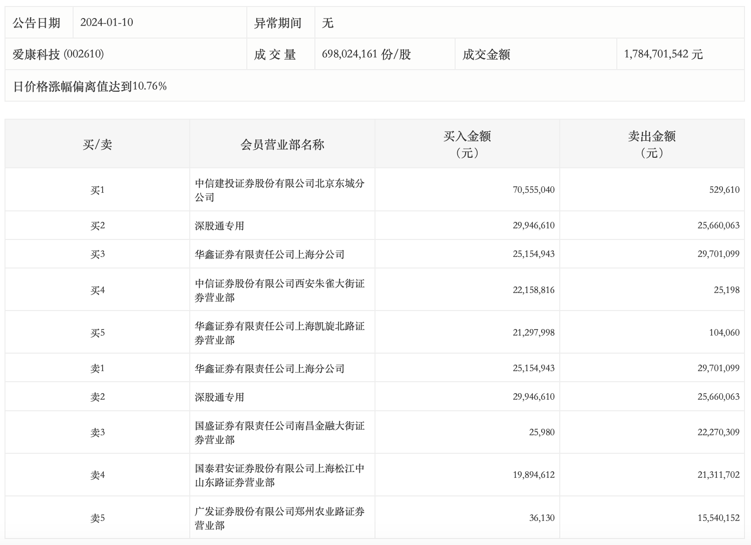
1月10日,爱康科技今日涨停,龙虎榜数据显示,上榜营业部席位全天成交3.04亿元,占当日总成交金额比例为17.05%。其中,买入金额为1.89亿元,卖出金额为1.15亿元,合计净买入7392.79万元。

具体来看,知名游资现身龙虎榜,方新侠(中信证券股份有限公司西安朱雀大街证券营业部)净买入2213.36万元。此外,中信建投证券北京东城分公司、深股通专用分别买入7055.50万元、2994.66万元;华鑫证券上海分公司、深股通专用分别卖出2970.11万元、2566.01万元。