查股网.CN
首页
选股
热点
资金
板块
大盘
DDX
游资
龙虎
导航
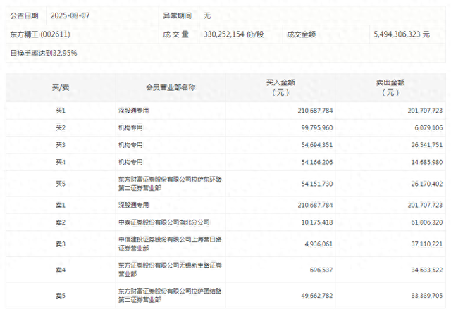
东方精工今日涨停 三机构净买入1.61亿元
东方精工今日涨停 三机构净买入1.61亿元
查股网
2025-08-07 17:08
东方精工(002611)个股分析
东方精工
今日涨停,换手率32.95%,成交额54.94亿元。盘后龙虎榜数据显示,三机构买入2.09亿元,卖出4731万元,净买入1.61亿元。
(本文来自第一财经)