龙虎榜丨哈尔斯今日跌9.87%,知名游资赵老哥净买入247.65万元。

http://ddx.gubit.cn  2023-06-05 20:24  哈尔斯(002615)公司分析

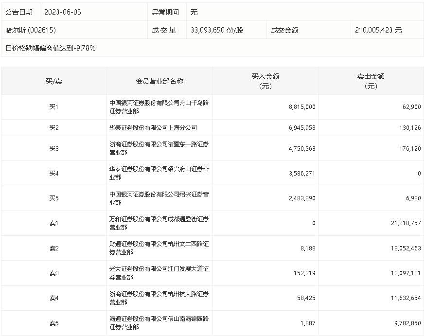
6月5日,哈尔斯今日跌9.87%,龙虎榜数据显示,上榜营业部席位全天成交9496.18万元,占当日总成交金额比例为45.22%。其中,买入金额为2680.19万元,卖出金额为6815.99万元,合计净卖出4135.8万元。

具体来看,知名游资现身龙虎榜,赵老哥(中国银河证券股份有限公司绍兴证券营业部)净买入247.65万元。此外,万和证券成都通盈街证券营业部、财通证券杭州文二西路证券营业部分别卖出2121.88万元、1305.25万元;中国银河证券舟山千岛路证券营业部、华泰证券上海分公司分别买入881.50万元、694.60万元。