华西能源:2023年亏损1.93亿元

中证智能财讯 华西能源(002630)4月27日披露2023年年报。2023年,公司实现营业总收入18.67亿元,同比增长117.30%;归母净利润亏损1.93亿元,上年同期亏损7.57亿元;扣非净利润亏损1.85亿元,上年同期亏损7.69亿元;经营活动产生的现金流量净额为2.31亿元,同比下降18.45%;报告期内,华西能源基本每股收益为-0.1635元,加权平均净资产收益率为-25.32%。

以4月26日收盘价计算,华西能源目前市盈率(TTM)约为-15.6倍,市净率(LF)约为4.98倍,市销率(TTM)约为1.61倍。

公司近年市盈率(TTM)、市净率(LF)、市销率(TTM)历史分位图如下所示:



数据统计显示,华西能源近三年营业总收入复合增长率为-5.43%,在其他电源设备Ⅱ行业已披露2023年数据的27家公司中排名第26。近三年净利润复合年增长率为16.61%,排名13/27。

分产品来看,2023年公司主营业务中,总承包项目收入12.58亿元,同比增长170.66%,占营业收入的67.40%;锅炉及配套产品收入5.56亿元,同比增长52.82%,占营业收入的29.78%;商贸土建收入0.05亿元,同比增长50.50%,占营业收入的0.27%。

截至2023年末,公司员工总数为976人,人均创收191.28万元,人均创利-19.78万元,人均薪酬12.84万元,较上年同期分别增长124.86%、73.61%、19.96%。

2023年,公司毛利率为17.74%,同比上升15.72个百分点;净利率为-10.86%,较上年同期上升78.17个百分点。从单季度指标来看,2023年第四季度公司毛利率为38.40%,同比上升37.01个百分点,环比上升26.84个百分点;净利率为5.10%,较上年同期上升82.63个百分点,较上一季度上升4.97个百分点。

分产品看,总承包项目、锅炉及配套产品、商贸土建2023年毛利率分别为17.99%、13.73%、19.08%。

报告期内,公司前五大客户合计销售金额7.61亿元,占总销售金额比例为40.75%,公司前五名供应商合计采购金额7.81亿元,占年度采购总额比例为63.15%。


数据显示,2023年公司加权平均净资产收益率为-25.32%,较上年同期增长34.21个百分点;公司2023年投入资本回报率为0.92%,较上年同期增长8.65个百分点。

2023年,公司经营活动现金流净额为2.31亿元,同比下降18.45%;筹资活动现金流净额-4.12亿元,同比增加2862.93万元;投资活动现金流净额1.74亿元,上年同期为1.49亿元。
进一步统计发现,2023年公司自由现金流为2.08亿元,相比上年同期下降93.26%。

2023年,公司营业收入现金比为66.38%,净现比为-119.60%。

营运能力方面,2023年,公司公司总资产周转率为0.19次,上年同期为0.08次(2022年行业平均值为0.49次,公司位居同行业30/30);固定资产周转率为2.13次,上年同期为0.94次(2022年行业平均值为4.04次,公司位居同行业27/30);公司应收账款周转率、存货周转率分别为2.47次、3.06次。

2023年,公司期间费用为5.30亿元,较上年同期减少450.53万元;期间费用率为28.39%,较上年同期下降33.83个百分点。其中,销售费用同比增长2.04%,管理费用同比增长0.96%,研发费用同比增长29.5%,财务费用同比下降6.11%。

资产重大变化方面,截至2023年年末,公司无形资产较上年末减少60.61%,占公司总资产比重下降5.24个百分点;合同资产较上年末增加26.23%,占公司总资产比重上升3.92个百分点;存货较上年末减少49.21%,占公司总资产比重下降3.17个百分点;应收账款较上年末增加36.52%,占公司总资产比重上升2.44个百分点。

负债重大变化方面,截至2023年年末,公司短期借款较上年末减少97.46%,占公司总资产比重下降15.87个百分点,主要系短期借款到期转长期借款;长期借款较上年末增加38.29%,占公司总资产比重上升12.31个百分点,主要系短期借款到期转长期借款;其他应付款(含利息和股利)较上年末减少21.78%,占公司总资产比重下降2.83个百分点;应付账款较上年末增加16.82%,占公司总资产比重上升3.28个百分点。

从存货变动来看,截至2023年年末,公司存货账面价值为3.38亿元,占净资产的55.89%,较上年末减少3.28亿元。其中,存货跌价准备为1.83亿元,计提比例为35.11%。

2023年全年,公司研发投入金额为5575.49万元,同比增长29.50%;研发投入占营业收入比例为2.99%,相比上年同期下降2.02个百分点。此外,公司全年研发投入资本化率为0。


年报称,公司一直专注于节能减排新能源锅炉的研制,开发了具有国内领先水平的以煤矸石、石油焦、油页岩、生物质、碱回收、油气及高炉煤气、煤粉等为燃料的高新锅炉技术;截至报告期末,公司拥有生物质燃料锅炉、新型水冷炉排等各类发明专利、实用新型专利共计351项。公司拥有国内领先的炉膛燃烧和传热三维计算机模拟软件、先进的CAD计算机辅助设计、CAPP计算机辅助工艺系统、炉膛及燃烧器冷态实验台、电子万能实验机、直读光谱仪等先进的实验研究设备,并已先后实施了锅炉模拟试验、水动力试验、材料及焊接性能试验以及承压设备爆破试验和应力、应变分析试验等。
在偿债能力方面,公司2023年年末资产负债率为92.41%,相比上年末上升2.77个百分点;有息资产负债率为48.37%,相比上年末下降1.42个百分点。

2023年,公司流动比率为0.79,速动比率为0.72。

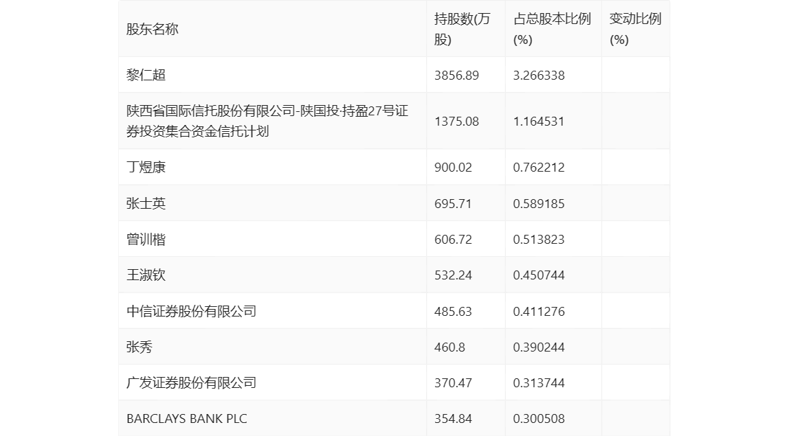
年报显示,2023年年末公司十大流通股东中,新进股东为中信证券股份有限公司、张秀、广发证券股份有限公司、BARCLAYS BANK PLC,取代了三季度末的薛仁杰、潘甦敏、曾崇芸、王力娟。

筹码集中度方面,截至2023年年末,公司股东总户数为8.8万户,较三季度末下降了9048户,降幅9.32%;户均持股市值由三季度末的3.01万元上升至3.33万元,增幅为10.63%。

指标注解:
市盈率
=总市值/净利润。当公司亏损时市盈率为负,此时用市盈率估值没有实际意义,往往用市净率或市销率做参考。
市净率
=总市值/净资产。市净率估值法多用于盈利波动较大而净资产相对稳定的公司。
市销率
=总市值/营业收入。市销率估值法通常用于亏损或微利的成长型公司。
文中市盈率和市销率采用TTM方式,即以截至最近一期财报(含预报)12个月的数据计算。市净率采用LF方式,即以最近一期财报数据计算。
市盈率为负时,不显示当期分位数,会导致折线图中断。