龙虎榜丨跨境通今日涨停,上榜营业部席位合计净卖出4048.03万元

http://ddx.gubit.cn  2023-05-09 21:38  跨境通(002640)公司分析

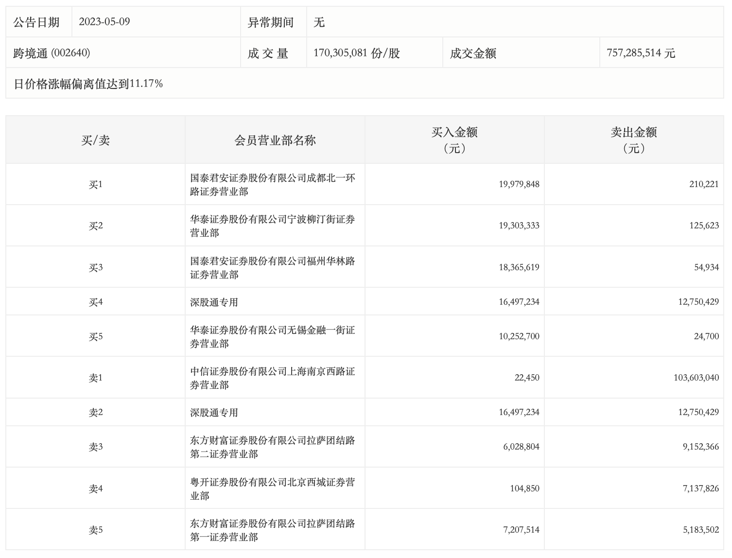
5月9日,跨境通今日涨停,龙虎榜数据显示,上榜营业部席位全天成交2.36亿元,占当日总成交金额比例为31.16%。其中,买入金额为9776.24万元,卖出金额为1.38亿元,合计净卖出4048.03万元。

具体来看,国泰君安证券成都北一环路证券营业部、华泰证券宁波柳汀街证券营业部分别买入1997.98万元、1930.33万元;中信证券上海南京西路证券营业部、深股通专用分别卖出1.04亿元、1275.04万元。