万润股份:2024年第一季度净利润9831.39万元 同比下降44.32%

中证智能财讯 万润股份(002643)4月20日披露2024年一季报。2024年第一季度,公司实现营业总收入9.38亿元,同比下降9.19%;归母净利润9831.39万元,同比下降44.32%;扣非净利润8852.34万元,同比下降49.08%;经营活动产生的现金流量净额为2.67亿元,同比增长16.12%;报告期内,万润股份基本每股收益为0.11元,加权平均净资产收益率为1.39%。


资料显示,公司主要从事环保材料产业、电子信息材料产业、新能源材料产业和生命科学与医药产业四个领域产品的研发、生产和销售。
2024年第一季度,公司毛利率为41.57%,同比上升0.94个百分点;净利率为14.23%,较上年同期下降4.22个百分点。

数据显示,2024年第一季度公司加权平均净资产收益率为1.39%,较上年同期下降1.38个百分点;公司2024年第一季度投入资本回报率为1.49%,较上年同期下降0.99个百分点。

2024年第一季度,公司经营活动现金流净额为2.67亿元,同比增长16.12%;筹资活动现金流净额2.17亿元,同比增加1790.10万元;投资活动现金流净额-405.18万元,上年同期为-8437.23万元。

2024年第一季度,公司营业收入现金比为108.19%,净现比为271.82%。

资产重大变化方面,截至2024年一季度末,公司货币资金较上年末增加65.19%,占公司总资产比重上升4.46个百分点;交易性金融资产较上年末减少63.22%,占公司总资产比重下降3.27个百分点;固定资产较上年末减少1.21%,占公司总资产比重下降1.07个百分点;在建工程较上年末增加7.41%,占公司总资产比重上升0.66个百分点。

负债重大变化方面,截至2024年一季度末,公司长期借款较上年末增加13.90%,占公司总资产比重上升1.10个百分点;应付账款较上年末减少20.49%,占公司总资产比重下降1.23个百分点;短期借款较上年末增加334.98%,占公司总资产比重上升0.95个百分点;应付职工薪酬较上年末增加23.56%,占公司总资产比重上升0.25个百分点。

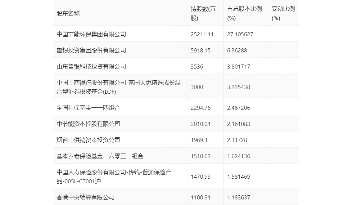
一季报显示,2024年一季度末公司十大流通股东中,持股最多的为中国节能环保集团有限公司,占比27.11%。十大流通股东名单相比null年年报维持不变。在具体持股比例上,中国节能环保集团有限公司、中国人寿保险股份有限公司-传统-普通保险产品-005L-CT001沪持股有所上升,中国工商银行股份有限公司-富国天惠精选成长混合型证券投资基金(LOF)、香港中央结算有限公司持股有所下降。

筹码集中度方面,截至2024年一季度末,公司股东总户数为2.59万户,较上年末增长了3661户,增幅16.48%;户均持股市值由上年末的69.46万元下降至47.84万元,降幅为31.13%。
