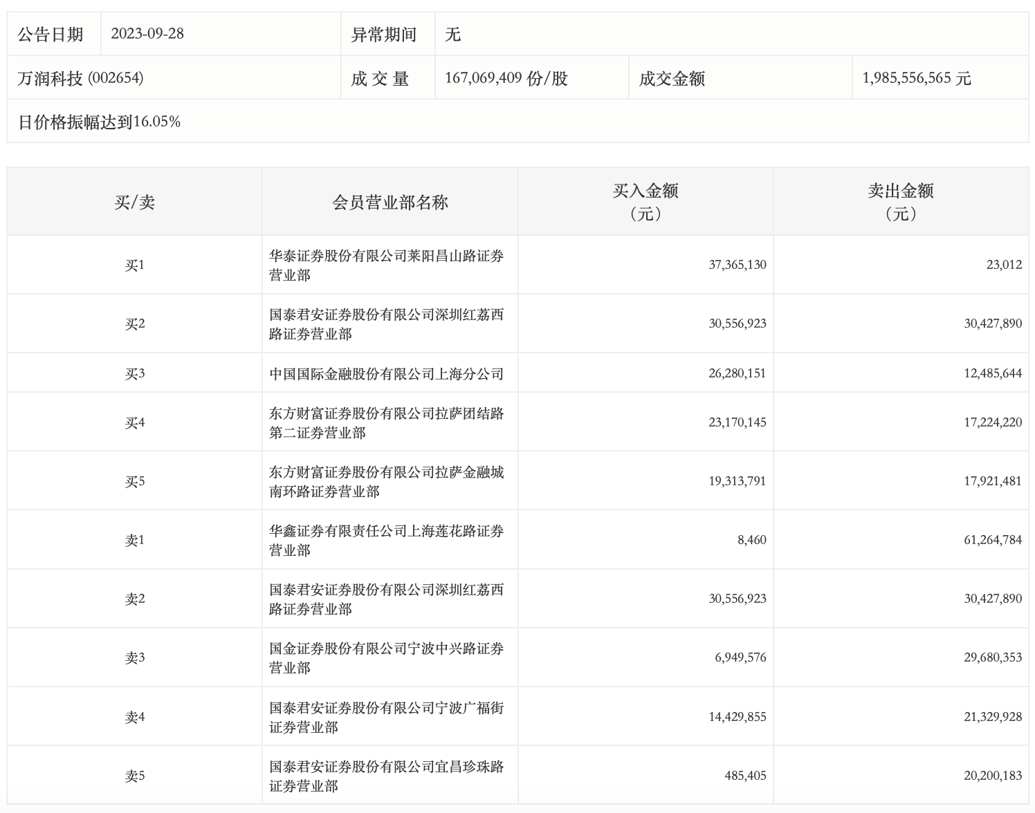
龙虎榜丨万润科技今日跌7.83%,上榜营业部席位合计净卖出5199.81万元

http://ddx.gubit.cn  2023-09-28 22:21  万润科技(002654)公司分析

9月28日,万润科技今日跌7.83%,龙虎榜数据显示,上榜营业部席位全天成交3.69亿元,占当日总成交金额比例为18.59%。其中,买入金额为1.59亿元,卖出金额为2.11亿元,合计净卖出5199.81万元。

具体来看,华鑫证券上海莲花路证券营业部、国泰君安证券深圳红荔西路证券营业部分别卖出6126.48万元、3042.79万元;华泰证券莱阳昌山路证券营业部、国泰君安证券深圳红荔西路证券营业部分别买入3736.51万元、3055.69万元。