龙虎榜丨万润科技今日涨停,机构合计净买入9804.94万元,“拉萨天团”卖出榜占4席

http://ddx.gubit.cn  2023-11-14 21:43  万润科技(002654)公司分析

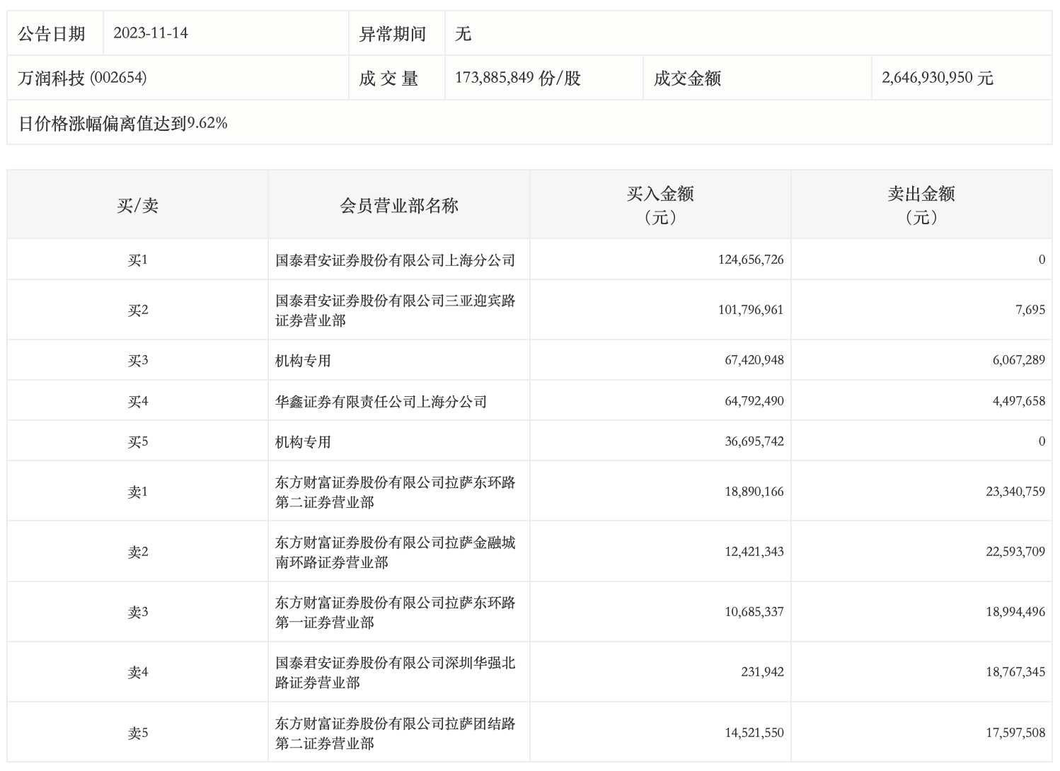
11月14日,万润科技今日涨停,全天换手率达22.18%,振幅达11.36%。龙虎榜数据显示,营业部席位合计净买入3.4亿元。其中,机构买入1.04亿元,卖出606.73万元,合计净买入9804.94万元。此外,国泰君安证券上海分公司、国泰君安证券三亚迎宾路证券营业部分别买入1.25亿元、1.02亿元;东方财富证券拉萨东环路第二证券营业部、东方财富证券拉萨金融城南环路证券营业部分别卖出2334.08万元、2259.37万元。