龙虎榜丨万润科技今日涨停,知名游资方新侠净买入2663.48万元

查股网  2024-06-03 21:03  万润科技(002654)个股分析

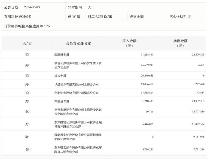
6月3日,万润科技今日涨停,龙虎榜数据显示,上榜营业部席位全天成交1.91亿元,占当日总成交金额比例为21.21%。其中,买入金额为1.26亿元,卖出金额为6536.78万元,合计净买入6066.88万元。

具体来看,机构合计净买入2034.07万元。此外,知名游资现身龙虎榜,深股通专用、方新侠(中信证券西安朱雀大街证券营业部)分别买入3121.84万元、2663.92万元;深股通专用、申万宏源证券有限公司上海静安区延长中路证券营业部分别卖出2330.93万元、1377.79万元。