龙虎榜丨中科金财今日涨停,营业部席位合计净买入1619.43万元

http://ddx.gubit.cn  2023-10-17 21:01  中科金财(002657)公司分析

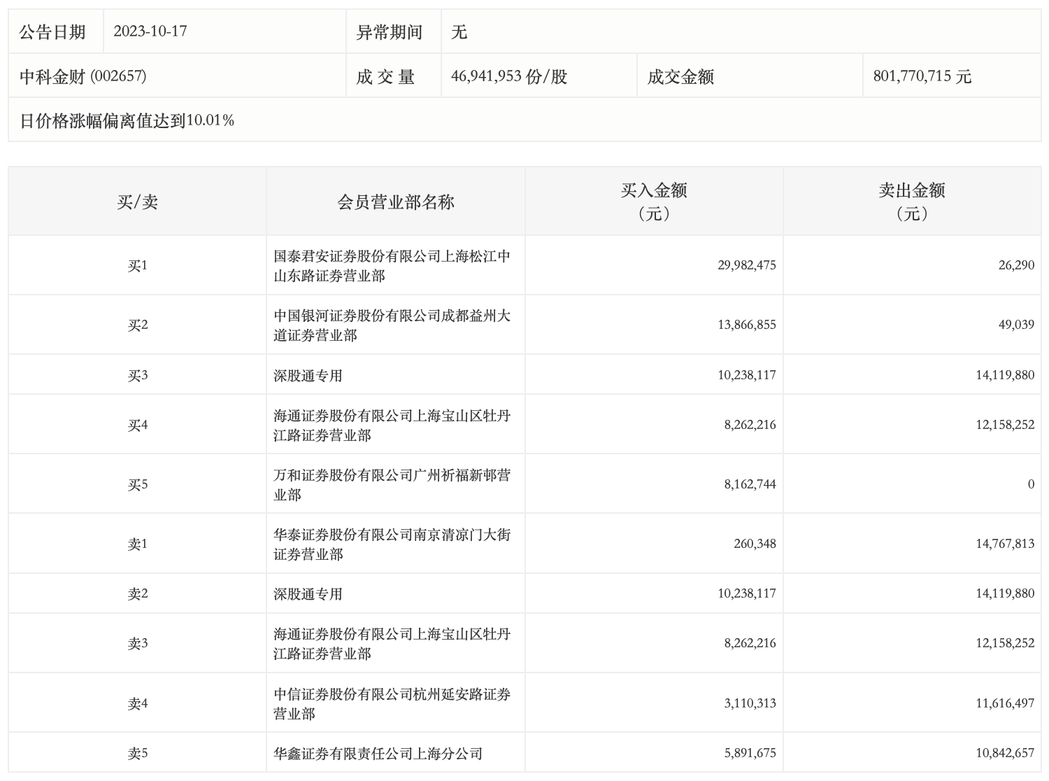
10月17日,中科金财今日涨停,全天换手率达14.01%,振幅达8.4%。龙虎榜数据显示,营业部席位合计净买入1619.43万元。其中,国泰君安证券上海松江中山东路证券营业部、中国银河证券成都益州大道证券营业部分别买入2998.25万元、1386.69万元;华泰证券南京清凉门大街证券营业部、深股通专用分别卖出1476.78万元、1411.99万元。