龙虎榜丨中科金财今日涨停,机构合计净买入1826.87万元,赵老哥净卖出857.94万元

http://ddx.gubit.cn  2023-10-27 22:44  中科金财(002657)公司分析

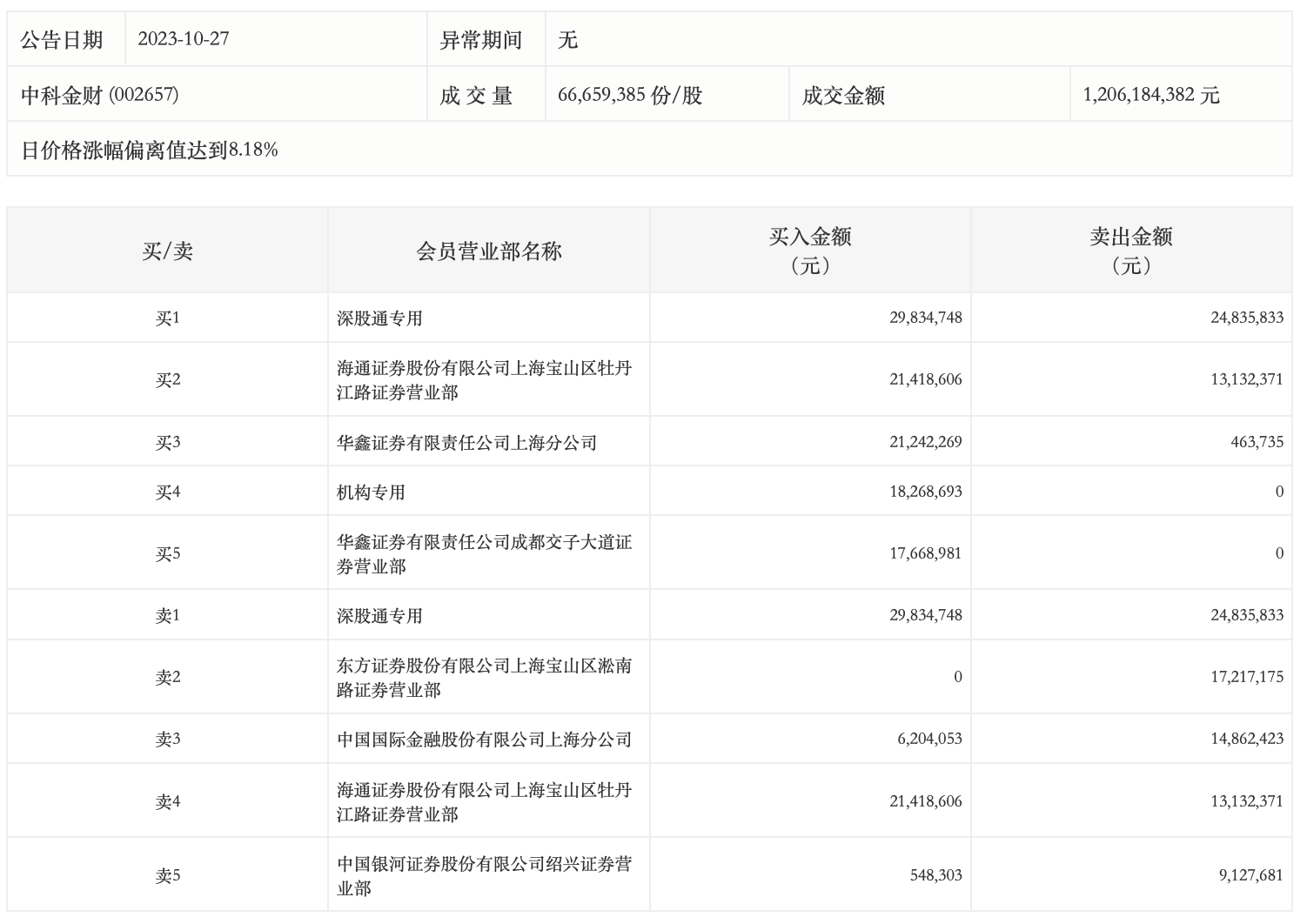
10月27日,中科金财今日涨停,龙虎榜数据显示,上榜营业部席位全天成交1.95亿元,占当日总成交金额比例为16.15%。其中,买入金额为1.15亿元,卖出金额为7963.92万元,合计净买入3554.64万元。

具体来看,机构合计净买入1826.87万元。此外,知名游资现身龙虎榜,赵老哥(中国银河证券股份有限公司绍兴证券营业部)净卖出857.94万元。此外,深股通专用、海通证券上海宝山区牡丹江路证券营业部分别买入2983.47万元、2141.86万元;深股通专用、东方证券上海宝山区淞南路证券营业部分别卖出2483.58万元、1721.72万元。