龙虎榜 | 康达新材今日跌停,机构合计净卖出2454.64万元

http://ddx.gubit.cn  2023-05-04 20:47  康达新材(002669)公司分析

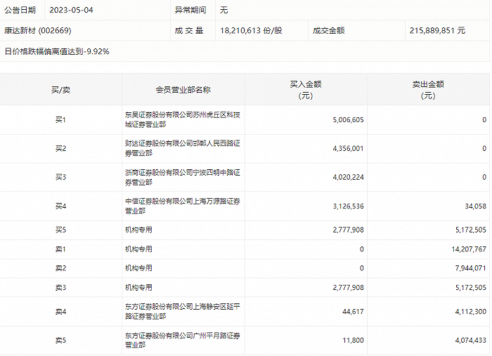
5月4日,康达新材今日跌停,龙虎榜数据显示,上榜营业部席位全天成交5488.88万元,占当日总成交金额比例为25.42%。其中,买入金额为1934.37万元,卖出金额为3554.51万元,合计净卖出1620.14万元。

具体来看,机构买入277.79万元,卖出2732.43万元,合计净卖出2454.64万元。此外,东方证券上海静安区延平路证券营业部、东方证券广州平月路证券营业部分别卖出411.23万元、407.44万元;东吴证券苏州虎丘区科技城证券营业部、财达证券邯郸人民西路证券营业部分别买入500.66万元、435.60万元。