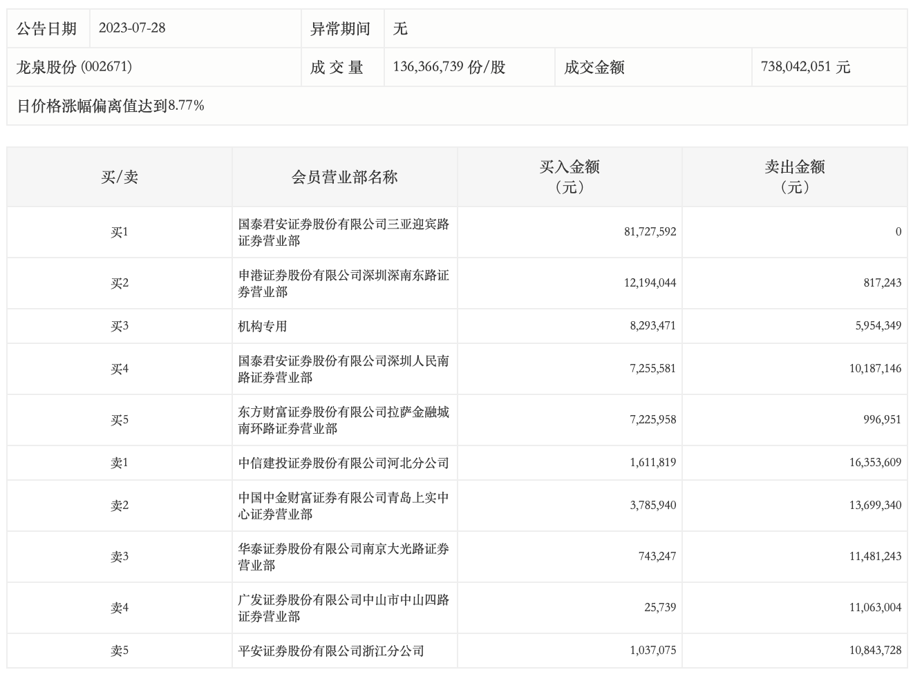
龙虎榜丨龙泉股份今日涨停,上榜营业部席位合计净买入4250.39万元

http://ddx.gubit.cn  2023-07-28 22:32  龙泉股份(002671)公司分析

7月28日,龙泉股份今日涨停,龙虎榜数据显示,上榜营业部席位全天成交2.05亿元,占当日总成交金额比例为27.82%。其中,买入金额为1.24亿元,卖出金额为8139.66万元,合计净买入4250.39万元。

具体来看,机构买入829.35万元,卖出595.43万元,合计净买入233.91万元。此外,国泰君安证券三亚迎宾路证券营业部、申港证券深圳深南东路证券营业部分别买入8172.76万元、1219.40万元;中信建投证券河北分公司、中国中金财富证券有限公司青岛上实中心证券营业部分别卖出1635.36万元、1369.93万元。