龙虎榜丨龙洲股份今日涨停,著名刺客净买入2197.13万元

http://ddx.gubit.cn  2023-10-27 22:41  龙洲股份(002682)公司分析

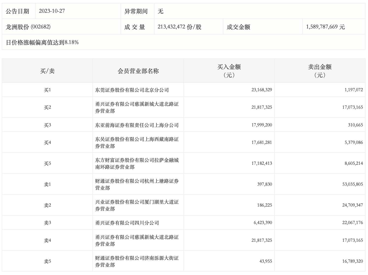
10月27日,龙洲股份今日涨停,龙虎榜数据显示,上榜营业部席位全天成交2.54亿元,占当日总成交金额比例为15.98%。其中,买入金额为1.05亿元,卖出金额为1.49亿元,合计净卖出4426.69万元。

具体来看,知名游资现身龙虎榜,著名刺客(东莞证券北京分公司)、甬兴证券有限公司慈溪新城大道北路证券营业部分别买入2316.83万元、2181.73万元;财通证券杭州上塘路证券营业部、兴业证券厦门湖里大道证券营业部分别卖出5303.58万元、2470.93万元。