龙洲股份:2024年上半年亏损3401.62万元

中证智能财讯 龙洲股份(002682)8月24日披露2024年半年报。2024年上半年,公司实现营业总收入13.57亿元,同比下降18.06%;归母净利润亏损3401.62万元,上年同期亏损8776.22万元;经营活动产生的现金流量净额为7235.85万元,同比增长97.86%;报告期内,龙洲股份基本每股收益为-0.06元,加权平均净资产收益率为-2.47%。

以8月23日收盘价计算,龙洲股份目前市盈率(TTM)约为-6.53倍,市净率(LF)约为1.32倍,市销率(TTM)约为0.57倍。

公司近年市盈率(TTM)、市净率(LF)、市销率(TTM)历史分位图如下所示:



根据半年报,公司第二季度实现营业总收入7.54亿元,同比下降19.42%,环比增长25.03%;归母净利润-3817.42万元,同比增长22.12%,环比下降1018.10%;扣非净利润-4038.26万元,同比增长22.33%,环比下降1423.14%。

资料显示,公司经过近几年来的转型升级发展,公司发展战略目标明确,产业脉络清晰,已经形成了以现代物流(含沥青供应链)为主体,汽车制造及销售与服务、汽车客运及站务服务、成品油及天然气销售等业务并行发展的现代交通服务一体化产业体系。
分产品来看,2024年上半年公司主营业务中,沥青供应链收入7.83亿元,同比下降9.21%,占营业收入的57.72%;成品油及天然气销售收入1.56亿元,同比下降2.28%,占营业收入的11.49%;汽车客运及站务服务收入1.51亿元,同比下降8.45%,占营业收入的11.10%。

2024年上半年,公司毛利率为3.89%,同比下降0.06个百分点;净利率为-3.54%,较上年同期上升3.01个百分点。从单季度指标来看,2024年第二季度公司毛利率为4.05%,同比下降0.97个百分点,环比上升0.35个百分点;净利率为-6.31%,较上年同期上升0.16个百分点,较上一季度下降6.23个百分点。

分产品看,沥青供应链、成品油及天然气销售、汽车客运及站务服务2024年上半年毛利率分别为0.94%、8.92%、-11.53%。

2024年上半年,公司经营活动现金流净额为7235.85万元,同比增长97.86%;筹资活动现金流净额-1.15亿元,同比减少3.12亿元,主要系取得借款收到的现金比上年同期减少所致;投资活动现金流净额-2624.58万元,上年同期为-3292.98万元。
进一步统计发现,2024年上半年公司自由现金流为2767.39万元,相比上年同期增长73.01%。

2024年上半年,公司营业收入现金比为178.76%,净现比为-212.72%。

营运能力方面,2024年上半年,公司公司总资产周转率为0.20次,上年同期为0.22次(2023年上半年行业平均值为0.46次,公司位居同行业37/45);固定资产周转率为0.78次,上年同期为0.90次(2023年上半年行业平均值为5.31次,公司位居同行业38/45);公司应收账款周转率、存货周转率分别为2.06次、3.38次。

2024年上半年,公司期间费用为1.86亿元,较上年同期减少4031.14万元;但期间费用率为13.72%,较上年同期上升0.04个百分点。其中,销售费用同比下降32.7%,管理费用同比下降18.36%,研发费用同比下降27.94%,财务费用同比下降7.36%。
资料显示,销售费用的变动主要因为职工薪酬、业务费比上年同期减少。

资产重大变化方面,截至2024年上半年末,公司存货较上年末增加93.22%,占公司总资产比重上升3.73个百分点;应收账款较上年末减少20.04%,占公司总资产比重下降2.11个百分点;货币资金较上年末减少14.99%,占公司总资产比重下降1.22个百分点;应收票据较上年末减少70.06%,占公司总资产比重下降0.68个百分点。

负债重大变化方面,截至2024年上半年末,公司一年内到期的非流动负债较上年末减少38.45%,占公司总资产比重下降3.91个百分点;长期借款较上年末增加20.09%,占公司总资产比重上升3.89个百分点;合同负债较上年末增加238.75%,占公司总资产比重上升3.16个百分点;短期借款较上年末减少7.64%,占公司总资产比重下降1.84个百分点。

从存货变动来看,截至2024年上半年末,公司存货账面价值为5.09亿元,占净资产的34.46%,较上年末增加2.45亿元。其中,存货跌价准备为540.81万元,计提比例为1.05%。

在偿债能力方面,公司2024年上半年末资产负债率为75.11%,相比上年末上升0.69个百分点;有息资产负债率为54.03%,相比上年末下降1.87个百分点。

2024年上半年,公司流动比率为1.05,速动比率为0.88。

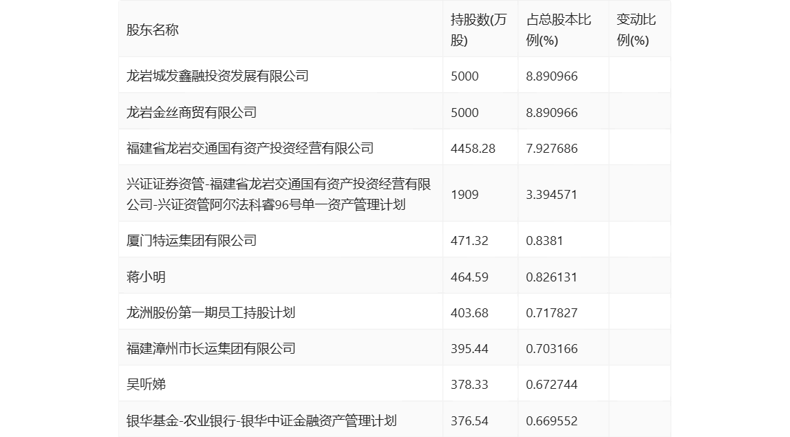
半年报显示,2024年上半年末公司十大流通股东中,新进股东为蒋小明、吴听娣,取代了一季度末的福建省龙岩交通国有资产投资经营有限公司、厦门特运集团有限公司、福建龙洲运输股份有限公司-第一期员工持股计划、大成基金-农业银行-大成中证金融资产管理计划、南方基金-农业银行-南方中证金融资产管理计划、广发基金-农业银行-广发中证金融资产管理计划。

筹码集中度方面,截至2024年上半年末,公司股东总户数为5.9万户,较一季度末下降了2.31万户,降幅28.14%;户均持股市值由一季度末的3.63万元下降至3.40万元,降幅为6.34%。

指标注解:
市盈率
=总市值/净利润。当公司亏损时市盈率为负,此时用市盈率估值没有实际意义,往往用市净率或市销率做参考。
市净率
=总市值/净资产。市净率估值法多用于盈利波动较大而净资产相对稳定的公司。
市销率
=总市值/营业收入。市销率估值法通常用于亏损或微利的成长型公司。
文中市盈率和市销率采用TTM方式,即以截至最近一期财报(含预报)12个月的数据计算。市净率采用LF方式,即以最近一期财报数据计算。
市盈率为负时,不显示当期分位数,会导致折线图中断。