华东重机:2024年上半年盈利2716.67万元 同比扭亏

中证智能财讯 华东重机(002685)8月30日披露2024年半年度报告。2024年上半年,公司实现营业收入5.57亿元,同比增长45.19%;归母净利润2716.67万元,同比扭亏;扣非净利润1670.89万元,同比扭亏;经营活动产生的现金流量净额为2.7亿元,同比增长707.13%;报告期内,华东重机基本每股收益为0.027元,加权平均净资产收益率为1.88%。
公告称,公司营业收入变化主要由于系报告期新增光伏电池片业务。

以8月29日收盘价计算,华东重机目前市盈率(TTM)约为-4.24倍,市净率(LF)约为2.15倍,市销率(TTM)约为3.71倍。

公司近年市盈率(TTM)、市净率(LF)、市销率(TTM)历史分位图如下所示:



根据半年报,公司第二季度实现营业总收入4.05亿元,同比增长259.20%,环比增长165.82%;归母净利润629.18万元,同比增长108.91%,环比下降69.86%;扣非净利润-239.64万元,同比增长96.93%,环比下降112.54%。

资料显示,公司主要从事“集装箱装卸设备”和“数控机床”为主的高端装备制造业务,以及光伏电池组件业务,其中数控机床业务正加紧出售实施中;同时公司正积极推进新质生产力领域的布局,打造公司新的利润增长点,提升公司核心竞争力和持续经营能力。
2024年上半年,公司毛利率为1.51%,同比下降14.03个百分点;净利率为2.72%,较上年同期上升14.65个百分点。从单季度指标来看,2024年第二季度公司毛利率为2.72%,同比上升6.96个百分点,环比上升4.42个百分点;净利率为-0.14%,较上年同期上升62.76个百分点,较上一季度下降10.47个百分点。

数据显示,2024年上半年公司加权平均净资产收益率为1.88%,较上年同期增长3.93个百分点;公司2024年上半年投入资本回报率为0.64%,较上年同期增长2.92个百分点。

2024年上半年,公司经营活动现金流净额为2.70亿元,同比增长707.13%;筹资活动现金流净额7754.58万元,同比增加1.00亿元;投资活动现金流净额-2.89亿元,上年同期为1.34亿元。
进一步统计发现,2024年上半年公司自由现金流为-1.94亿元,上年同期为0.88亿元。

2024年上半年,公司营业收入现金比为170.19%,净现比为995.62%。

营运能力方面,2024年上半年,公司总资产周转率为0.16次,上年同期为0.11次(2023年上半年行业平均值为0.30次,公司位居同行业20/21);固定资产周转率为1.55次,上年同期为0.81次(2023年上半年行业平均值为2.92次,公司位居同行业19/21);公司应收账款周转率、存货周转率分别为6.89次、1.57次。

2024年上半年,公司期间费用为9595.49万元,较上年同期增加1681.98万元;但期间费用率为17.22%,较上年同期下降3.40个百分点。其中,销售费用同比下降8.71%,管理费用同比增长23.44%,研发费用同比增长10.93%,财务费用由去年同期的-334.84万元变为285.05万元。
资料显示,财务费用的变动主要因为系报告期利息收入、汇兑收益减少,手续费增加。

资产重大变化方面,截至2024年上半年末,公司货币资金较上年末减少18.04%,占公司总资产比重下降4.66个百分点;固定资产较上年末减少4.16%,占公司总资产比重下降2.26个百分点;应收票据较上年末增加501.75%,占公司总资产比重上升2.11个百分点;在建工程较上年末增加2.59%,占公司总资产比重下降1.60个百分点。

负债重大变化方面,截至2024年上半年末,公司合同负债较上年末增加136.50%,占公司总资产比重上升7.10个百分点;持有待售负债较上年末增加60.78%,占公司总资产比重上升5.16个百分点;应付票据较上年末减少89.08%,占公司总资产比重下降8.54个百分点;预收款项较上年末增加597.45%,占公司总资产比重上升3.17个百分点。

从存货变动来看,截至2024年上半年末,公司存货账面价值为3.55亿元,占净资产的24.36%,较上年末增加1288.86万元。其中,存货跌价准备为2599.73万元,计提比例为6.83%。

在偿债能力方面,公司2024年上半年末资产负债率为61.19%,相比上年末上升6.66个百分点;有息资产负债率为2.32%,相比上年末下降0.42个百分点。

2024年上半年,公司流动比率为1.33,速动比率为1.16。

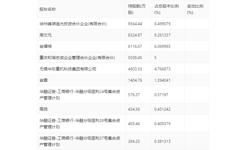
半年报显示,2024年上半年末的公司十大流通股东中,持股最多的为徐州峰湖追光投资合伙企业(有限合伙),占比8.499%。在具体持股比例上,高扬持股有所上升。

筹码集中度方面,截至2024年上半年末,公司股东总户数为6.05万户,较一季度末下降了5012户,降幅7.65%;户均持股市值由一季度末的4.89万元下降至3.91万元,降幅为20.04%。

指标注解:
市盈率
=总市值/净利润。当公司亏损时市盈率为负,此时用市盈率估值没有实际意义,往往用市净率或市销率做参考。
市净率
=总市值/净资产。市净率估值法多用于盈利波动较大而净资产相对稳定的公司。
市销率
=总市值/营业收入。市销率估值法通常用于亏损或微利的成长型公司。
文中市盈率和市销率采用TTM方式,即以截至最近一期财报(含预报)12个月的数据计算。市净率采用LF方式,即以最近一期财报数据计算。
市盈率为负时,不显示当期分位数,会导致折线图中断。