煌上煌:2024年上半年净利润6061.52万元 同比下降26.59%

中证智能财讯 煌上煌(002695)8月28日披露2024年半年度报告。2024年上半年,公司实现营业收入10.6亿元,同比下降7.53%;归母净利润6061.52万元,同比下降26.59%;扣非净利润4855.01万元,同比下降31.16%;经营活动产生的现金流量净额为1.67亿元,同比下降13.71%;报告期内,煌上煌基本每股收益为0.109元,加权平均净资产收益率为2.17%。

以8月27日收盘价计算,煌上煌目前市盈率(TTM)约为71.35倍,市净率(LF)约为1.26倍,市销率(TTM)约为1.89倍。

公司近年市盈率(TTM)、市净率(LF)、市销率(TTM)历史分位图如下所示:



根据半年报,公司第二季度实现营业总收入6.03亿元,同比下降5.10%,环比增长31.77%;归母净利润2804.19万元,同比下降39.49%,环比下降13.91%;扣非净利润2191.54万元,同比下降46.01%,环比下降17.72%。

资料显示,公司主要业务为酱卤肉制品、米制品及少量佐餐凉菜等其他产品的开发、生产和销售。
2024年上半年,公司毛利率为32.43%,同比上升4.71个百分点;净利率为5.71%,较上年同期下降1.36个百分点。从单季度指标来看,2024年第二季度公司毛利率为30.02%,同比上升3.41个百分点,环比下降5.58个百分点;净利率为4.76%,较上年同期下降2.71个百分点,较上一季度下降2.19个百分点。

数据显示,2024年上半年公司加权平均净资产收益率为2.17%,较上年同期下降1.29个百分点;公司2024年上半年投入资本回报率为1.95%,较上年同期下降1.07个百分点。

2024年上半年,公司经营活动现金流净额为1.67亿元,同比下降13.71%;筹资活动现金流净额-1.30亿元,同比减少9071.16万元,主要系报告期公司分红1亿元同比增加所致;投资活动现金流净额-3310.99万元,上年同期为-2.66亿元,主要系去年同期募投项目建设和公司理财产品投入增加所致。
进一步统计发现,2024年上半年公司自由现金流为1.61亿元,上年同期为-0.56亿元。

2024年上半年,公司营业收入现金比为102.20%,净现比为275.58%。

营运能力方面,2024年上半年,公司公司总资产周转率为0.32次,上年同期为0.38次(2023年上半年行业平均值为0.43次,公司位居同行业12/23);固定资产周转率为1.26次,上年同期为1.61次(2023年上半年行业平均值为1.87次,公司位居同行业15/23);公司应收账款周转率、存货周转率分别为9.75次、1.67次。

2024年上半年,公司期间费用为2.71亿元,较上年同期增加4157.80万元;期间费用率为25.59%,较上年同期上升5.56个百分点。其中,销售费用同比增长15.55%,管理费用同比增长20.07%,研发费用同比增长29.92%,财务费用由去年同期的-417.35万元变为-679.39万元。

资产重大变化方面,截至2024年上半年末,公司应收账款较上年末增加348.84%,占公司总资产比重上升4.19个百分点;存货较上年末减少28.16%,占公司总资产比重下降4.01个百分点;固定资产较上年末增加10.35%,占公司总资产比重上升2.87个百分点;其他流动资产较上年末减少35.76%,占公司总资产比重下降2.68个百分点。

负债重大变化方面,截至2024年上半年末,公司租赁负债较上年末增加75.17%,占公司总资产比重上升0.33个百分点;长期递延收益较上年末增加6.45%,占公司总资产比重上升0.40个百分点;一年内到期的非流动负债较上年末减少86.01%,占公司总资产比重下降0.26个百分点;应付职工薪酬较上年末减少29.28%,占公司总资产比重下降0.14个百分点。

从存货变动来看,截至2024年上半年末,公司存货账面价值为3.58亿元,占净资产的12.99%。其中,存货跌价准备为60.75万元,计提比例为0.17%。

在偿债能力方面,公司2024年上半年末资产负债率为16.71%,相比上年末下降0.07个百分点;有息资产负债率为0.04%,相比上年末下降1.13个百分点。

2024年上半年,公司流动比率为5.47,速动比率为4.44。

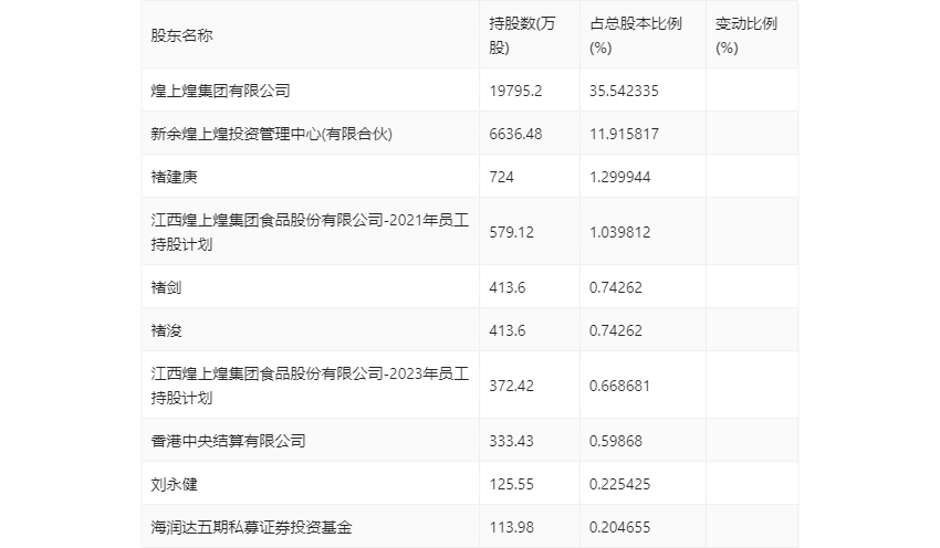
半年报显示,2024年上半年末公司十大流通股东中,持股最多的为煌上煌集团有限公司,占比35.54%。十大流通股东名单相比2024年一季报维持不变。在具体持股比例上,香港中央结算有限公司持股有所下降。

筹码集中度方面,截至2024年上半年末,公司股东总户数为4.03万户,较一季度末下降了1942户,降幅4.60%;户均持股市值由一季度末的10.91万元下降至8.97万元,降幅为17.78%。

指标注解:
市盈率
=总市值/净利润。当公司亏损时市盈率为负,此时用市盈率估值没有实际意义,往往用市净率或市销率做参考。
市净率
=总市值/净资产。市净率估值法多用于盈利波动较大而净资产相对稳定的公司。
市销率
=总市值/营业收入。市销率估值法通常用于亏损或微利的成长型公司。
文中市盈率和市销率采用TTM方式,即以截至最近一期财报(含预报)12个月的数据计算。市净率采用LF方式,即以最近一期财报数据计算。
市盈率为负时,不显示当期分位数,会导致折线图中断。