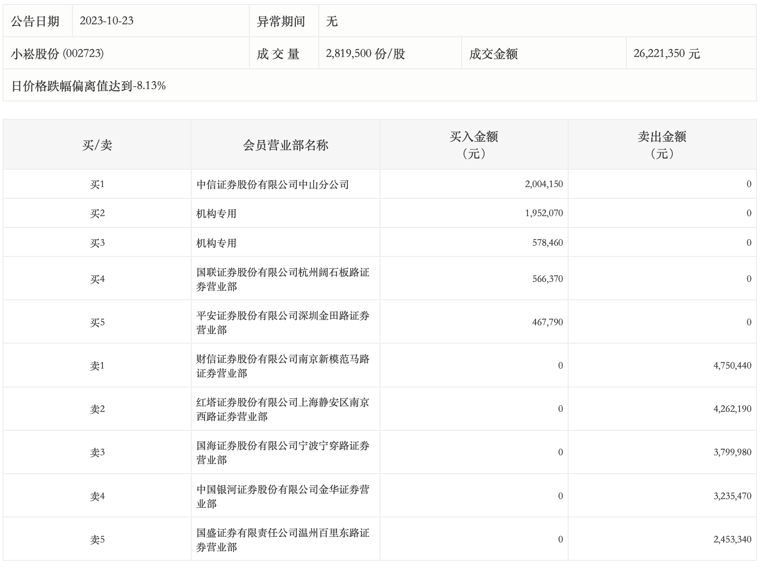
龙虎榜丨小崧股份今日跌停,机构合计净买入253.05万元

http://ddx.gubit.cn  2023-10-23 20:57  小崧股份(002723)公司分析

10月23日,小崧股份今日跌停,全天换手率达0.91%,振幅达0%。龙虎榜数据显示,营业部席位合计净卖出1293.26万元。其中,机构合计净买入253.05万元。此外,财信证券南京新模范马路证券营业部、红塔证券上海静安区南京西路证券营业部分别卖出475.04万元、426.22万元;中信证券中山分公司、国联证券杭州阔石板路证券营业部分别买入200.42万元、56.64万元。