利民股份:2024年上半年净利润同比下降44.84% 拟10派1.5元

中证智能财讯 利民股份(002734)8月29日披露2024年半年度报告。2024年上半年,公司实现营业收入22.98亿元,同比下降0.34%;归母净利润3173.62万元,同比下降44.84%;扣非净利润2837.88万元,同比下降46.68%;经营活动产生的现金流量净额为-1.14亿元,上年同期为499.66万元;报告期内,利民股份基本每股收益为0.09元,加权平均净资产收益率为1.17%。公司2024年半年度分配预案为:拟向全体股东每10股派现1.5元(含税)。

以8月28日收盘价计算,利民股份目前市盈率(TTM)约为67.5倍,市净率(LF)约为0.93倍,市销率(TTM)约为0.58倍。

公司近年市盈率(TTM)、市净率(LF)、市销率(TTM)历史分位图如下所示:



根据半年报,公司第二季度实现营业总收入13.08亿元,同比增长16.35%,环比增长32.10%;归母净利润4022.79万元,同比增长2099.22%,环比增长573.73%;扣非净利润3819.83万元,同比增长1164.90%,环比增长489.01%。

资料显示,公司主要从事农药、兽药原药、制剂的研发、生产和销售。
2024年上半年,公司毛利率为18.03%,同比下降1.02个百分点;净利率为1.61%,较上年同期下降0.89个百分点。从单季度指标来看,2024年第二季度公司毛利率为17.32%,同比上升0.22个百分点,环比下降1.65个百分点;净利率为3.29%,较上年同期上升3.46个百分点,较上一季度上升3.90个百分点。

数据显示,2024年上半年公司加权平均净资产收益率为1.17%,较上年同期下降0.86个百分点;公司2024年上半年投入资本回报率为1.28%,较上年同期下降0.48个百分点。

2024年上半年,公司经营活动现金流净额为-1.14亿元,同比减少1.19亿元;筹资活动现金流净额-1.19亿元,同比减少1.42亿元;投资活动现金流净额-5072.90万元,上年同期为-1.38亿元。
进一步统计发现,2024年上半年公司自由现金流为-2089.40万元,上年同期为-575.58万元。

2024年上半年,公司营业收入现金比为59.78%,净现比为-359.77%。

营运能力方面,2024年上半年,公司总资产周转率为0.34次,上年同期为0.33次(2023年上半年行业平均值为0.30次,公司位居同行业12/32);固定资产周转率为0.72次,上年同期为0.78次(2023年上半年行业平均值为1.23次,公司位居同行业24/32);公司应收账款周转率、存货周转率分别为4.63次、2.65次。

2024年上半年,公司期间费用为3.06亿元,较上年同期减少1241.34万元;期间费用率为13.31%,较上年同期下降0.50个百分点。其中,销售费用同比增长8.48%,管理费用同比下降11.97%,研发费用同比下降5.5%,财务费用同比增长8.72%。

资产重大变化方面,截至2024年上半年末,公司应收账款较上年末增加90.50%,占公司总资产比重上升4.60个百分点;货币资金较上年末减少13.73%,占公司总资产比重下降1.55个百分点;存货较上年末减少14.20%,占公司总资产比重下降1.52个百分点;在建工程较上年末减少53.98%,占公司总资产比重下降1.23个百分点。

负债重大变化方面,截至2024年上半年末,公司短期借款较上年末增加31.78%,占公司总资产比重上升3.25个百分点;长期借款较上年末减少50.17%,占公司总资产比重下降2.73个百分点;合同负债较上年末减少65.91%,占公司总资产比重下降2.23个百分点;一年内到期的非流动负债较上年末增加44.46%,占公司总资产比重上升2.27个百分点。

从存货变动来看,截至2024年上半年末,公司存货账面价值为6.57亿元,占净资产的24.89%,较上年末减少1.09亿元。其中,存货跌价准备为1256.59万元,计提比例为1.88%。

在偿债能力方面,公司2024年上半年末资产负债率为60.33%,相比上年末上升1.64个百分点;有息资产负债率为36.42%,相比上年末上升3.11个百分点。

2024年上半年,公司流动比率为0.82,速动比率为0.60。

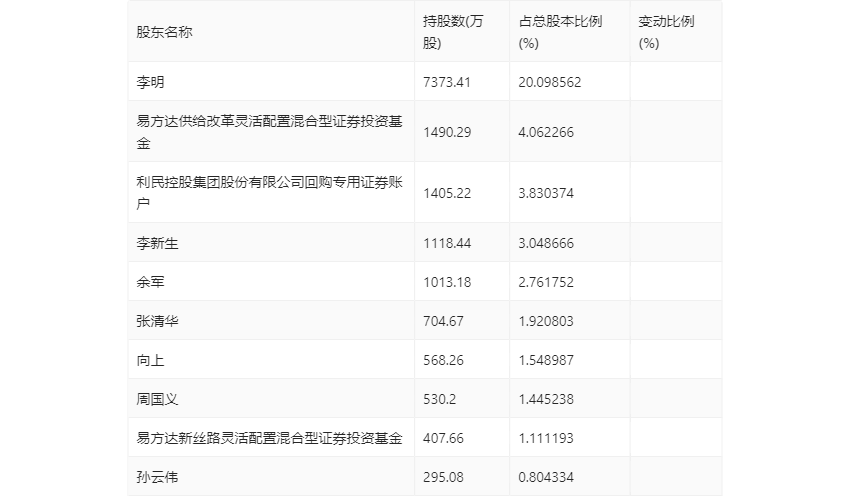
半年报显示,2024年上半年末的公司十大流通股东中,新进股东为利民控股集团股份有限公司回购专用证券账户、余军、向上、孙云伟,取代了一季度末的马长贵、鲍小娟、孙涛、许春芳。在具体持股比例上,易方达供给改革灵活配置混合型证券投资基金持股有所上升,李明、李新生、张清华、周国义、易方达新丝路灵活配置混合型证券投资基金持股有所下降。

值得注意的是,根据半年报数据,利民股份24.67%股份处于质押状态。其中,第一大股东李明质押5138.77万股公司股份,占其全部持股的69.69%。
筹码集中度方面,截至2024年上半年末,公司股东总户数为1.96万户,较一季度末增长了34户,增幅0.17%;户均持股市值由一季度末的12.52万元上升至12.87万元,增幅为2.80%。

指标注解:
市盈率
=总市值/净利润。当公司亏损时市盈率为负,此时用市盈率估值没有实际意义,往往用市净率或市销率做参考。
市净率
=总市值/净资产。市净率估值法多用于盈利波动较大而净资产相对稳定的公司。
市销率
=总市值/营业收入。市销率估值法通常用于亏损或微利的成长型公司。
文中市盈率和市销率采用TTM方式,即以截至最近一期财报(含预报)12个月的数据计算。市净率采用LF方式,即以最近一期财报数据计算。
市盈率为负时,不显示当期分位数,会导致折线图中断。