埃斯顿:2024年上半年亏损7341.60万元

中证智能财讯 埃斯顿(002747)8月30日披露2024年半年度报告。2024年上半年,公司实现营业收入21.69亿元,同比下降3.21%;归母净利润亏损7341.6万元,上年同期盈利9740.28万元;扣非净利润亏损9699.16万元,上年同期盈利6922.63万元;经营活动产生的现金流量净额为-3.42亿元,上年同期为-9209.78万元;报告期内,埃斯顿基本每股收益为-0.08元,加权平均净资产收益率为-2.77%。
报告期内,公司合计非经常性损益为2357.56万元,其中计入当期损益的政府补助为2002.44万元,非流动性资产处置损益(包括已计提资产减值准备的冲销部分)为386.93万元。

以8月29日收盘价计算,埃斯顿目前市盈率(TTM)约为-297.48倍,市净率(LF)约为4.13倍,市销率(TTM)约为2.32倍。

公司近年市盈率(TTM)、市净率(LF)、市销率(TTM)历史分位图如下所示:



根据半年报,公司第二季度实现营业总收入11.66亿元,同比下降7.10%,环比增长16.24%;归母净利润-7994.54万元,同比下降247.07%,环比下降1324.39%;扣非净利润-8405.07万元,同比下降326.39%,环比下降549.50%。

2024年上半年,公司毛利率为29.33%,同比下降3.76个百分点;净利率为-3.22%,较上年同期下降7.80个百分点。从单季度指标来看,2024年第二季度公司毛利率为26.50%,同比下降6.21个百分点,环比下降6.12个百分点;净利率为-6.72%,较上年同期下降11.39个百分点,较上一季度下降7.57个百分点。

数据显示,2024年上半年公司加权平均净资产收益率为-2.77%,较上年同期下降6.32个百分点;公司2024年上半年投入资本回报率为0.00%,较上年同期下降2.34个百分点。

2024年上半年,公司经营活动现金流净额为-3.42亿元,同比减少2.50亿元,主要系毛利率下降,原材料占比上升,采购付现支出增加,同时人员费用支付增加等因素导致现金流出增加所致;筹资活动现金流净额2.79亿元,同比减少6.36亿元,主要系上年同期收购少数股东股权融资增加,本期未发生该筹资所致;投资活动现金流净额-1.04亿元,上年同期为-7.72亿元,主要系上年同期收购少数股东股权投资支出,本期未发生该事项支出所致。
进一步统计发现,2024年上半年公司自由现金流为-3.63亿元,上年同期为-6.43亿元。

2024年上半年,公司营业收入现金比为103.50%。

营运能力方面,2024年上半年,公司总资产周转率为0.21次,上年同期为0.25次(2023年上半年行业平均值为0.21次,公司位居同行业8/21);固定资产周转率为1.83次,上年同期为2.85次(2023年上半年行业平均值为2.51次,公司位居同行业10/21);公司应收账款周转率、存货周转率分别为1.22次、1.14次。

2024年上半年,公司期间费用为7.15亿元,较上年同期增加4920.20万元;期间费用率为32.96%,较上年同期上升3.25个百分点。其中,销售费用同比增长22.73%,管理费用同比增长5.67%,研发费用同比增长1.81%,财务费用同比下降13.28%。
资料显示,销售费用的变动主要因为人员增加;财务费用的变动主要因为汇兑损益影响。

资产重大变化方面,截至2024年上半年末,公司应收账款较上年末增加23.11%,占公司总资产比重上升3.07个百分点;货币资金较上年末减少9.14%,占公司总资产比重下降1.44个百分点;固定资产较上年末增加13.77%,占公司总资产比重上升1.14个百分点;交易性金融资产较上年末减少24.11%,占公司总资产比重下降1.14个百分点。

负债重大变化方面,截至2024年上半年末,公司短期借款较上年末增加20.19%,占公司总资产比重上升2.49个百分点,主要系增加短期借款补充流动资金;合同负债较上年末增加26.84%,占公司总资产比重上升0.68个百分点;长期应付款合计较上年末增加12.29%,占公司总资产比重上升0.33个百分点;长期借款较上年末增加3.25%,占公司总资产比重上升0.02个百分点。

从存货变动来看,截至2024年上半年末,公司存货账面价值为13.57亿元,占净资产的52.71%,较上年末增加1689.2万元。其中,存货跌价准备为6801.84万元,计提比例为4.77%。

2024年上半年,埃斯顿的商誉达到14.86亿元,相当于同期公司净资产25.75亿元的57.71%。
在偿债能力方面,公司2024年上半年末资产负债率为74.00%,相比上年末上升1.99个百分点;有息资产负债率为40.22%,相比上年末上升2.17个百分点。

2024年上半年,公司流动比率为1.09,速动比率为0.84。

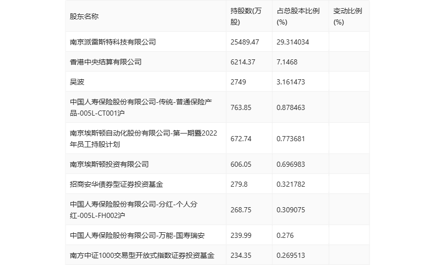
半年报显示,2024年上半年末公司十大流通股东中,新进股东为南方中证1000交易型开放式指数证券投资基金,取代了一季度末的富达管理及研究公司有限责任公司-富达新兴亚洲基金(交易所)。在具体持股比例上,香港中央结算有限公司、中国人寿保险股份有限公司-传统-普通保险产品-005L-CT001沪持股有所下降。

筹码集中度方面,截至2024年上半年末,公司股东总户数为9.47万户,较一季度末下降了6310户,降幅6.25%;户均持股市值由一季度末的16.47万元下降至13.06万元,降幅为20.70%。

指标注解:
市盈率
=总市值/净利润。当公司亏损时市盈率为负,此时用市盈率估值没有实际意义,往往用市净率或市销率做参考。
市净率
=总市值/净资产。市净率估值法多用于盈利波动较大而净资产相对稳定的公司。
市销率
=总市值/营业收入。市销率估值法通常用于亏损或微利的成长型公司。
文中市盈率和市销率采用TTM方式,即以截至最近一期财报(含预报)12个月的数据计算。市净率采用LF方式,即以最近一期财报数据计算。
市盈率为负时,不显示当期分位数,会导致折线图中断。