天际股份:2024年上半年亏损1.28亿元

中证智能财讯 天际股份(002759)8月29日披露2024年半年度报告。2024年上半年,公司实现营业收入8.96亿元,同比下降16.05%;归母净利润亏损1.28亿元,上年同期盈利2295.56万元;扣非净利润亏损1.28亿元,上年同期盈利2397.92万元;经营活动产生的现金流量净额为-2.78亿元,上年同期为-2.94亿元;报告期内,天际股份基本每股收益为-0.25元,加权平均净资产收益率为-2.78%。

以8月28日收盘价计算,天际股份目前市盈率(TTM)约为-24.8倍,市净率(LF)约为0.64倍,市销率(TTM)约为1.4倍。

公司近年市盈率(TTM)、市净率(LF)、市销率(TTM)历史分位图如下所示:



根据半年报,公司第二季度实现营业总收入4.51亿元,同比下降27.69%,环比增长1.19%;归母净利润-3199.77万元,同比下降347.28%,环比增长66.57%;扣非净利润-3272.53万元,同比下降321.20%,环比增长65.75%。

资料显示,公司主营业务包括化工行业、锂离子电池材料行业、磷化工行业、小家电行业。
2024年上半年,公司毛利率为-2.71%,同比下降16.46个百分点;净利率为-18.70%,较上年同期下降21.49个百分点。从单季度指标来看,2024年第二季度公司毛利率为3.72%,同比下降8.95个百分点,环比上升12.93个百分点;净利率为-6.20%,较上年同期下降6.72个百分点,较上一季度上升25.14个百分点。

数据显示,2024年上半年公司加权平均净资产收益率为-2.78%,较上年同期下降3.38个百分点;公司2024年上半年投入资本回报率为-2.89%,较上年同期下降3.49个百分点。

2024年上半年,公司经营活动现金流净额为-2.78亿元,同比增加1607.45万元;筹资活动现金流净额4.02亿元,同比减少2.22亿元;投资活动现金流净额-6.62亿元,上年同期为-7595.99万元。
进一步统计发现,2024年上半年公司自由现金流为-9.78亿元,上年同期为-3.39亿元。

2024年上半年,公司营业收入现金比为107.60%。

营运能力方面,2024年上半年,公司总资产周转率为0.12次,上年同期为0.18次(2023年上半年行业平均值为0.26次,公司位居同行业36/45);固定资产周转率为0.68次,上年同期为0.92次(2023年上半年行业平均值为1.34次,公司位居同行业32/45);公司应收账款周转率、存货周转率分别为2.34次、2.53次。

2024年上半年,公司期间费用为1.34亿元,较上年同期增加3629.11万元;期间费用率为15.00%,较上年同期上升5.80个百分点。其中,销售费用同比下降16.18%,管理费用同比增长38.46%,研发费用同比增长50.56%,财务费用由去年同期的-479.65万元变为-38.31万元。

资产重大变化方面,截至2024年上半年末,公司货币资金较上年末减少47.29%,占公司总资产比重下降10.33个百分点;在建工程较上年末增加33.20%,占公司总资产比重上升4.06个百分点;固定资产较上年末增加7.49%,占公司总资产比重上升3.09个百分点;应收款项融资较上年末减少58.66%,占公司总资产比重下降3.07个百分点。

负债重大变化方面,截至2024年上半年末,公司应付票据较上年末减少47.66%,占公司总资产比重下降6.89个百分点;应付账款较上年末增加60.19%,占公司总资产比重上升2.41个百分点;一年内到期的非流动负债较上年末减少86.49%,占公司总资产比重下降1.63个百分点;短期借款较上年末增加14.69%,占公司总资产比重上升1.28个百分点。

从存货变动来看,截至2024年上半年末,公司存货账面价值为3.42亿元,占净资产的7.73%,较上年末减少4266.89万元。其中,存货跌价准备为1657.84万元,计提比例为4.62%。

2024年上半年,天际股份的商誉达到17.75亿元,相当于同期公司净资产44.28亿元的40.09%。
在偿债能力方面,公司2024年上半年末资产负债率为29.20%,相比上年末下降4.36个百分点;有息资产负债率为10.42%,相比上年末上升0.63个百分点。

2024年上半年,公司流动比率为1.49,速动比率为1.27。

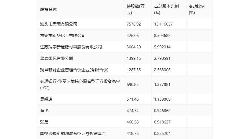
半年报显示,2024年上半年末公司十大流通股东中,新进股东为江苏瑞泰新能源材料股份有限公司、瑞昌新能企业管理合伙企业(有限合伙)、吴晓琪,取代了一季度末的华夏兴和混合型证券投资基金、吴锭平、华夏行业甄选混合型证券投资基金。在具体持股比例上,汕头市天际有限公司、常熟市新华化工有限公司、星嘉国际有限公司、交通银行-华夏蓝筹核心混合型证券投资基金(LOF)、张勇、国投瑞银新能源混合型证券投资基金持股有所上升,黄飞持股有所下降。

值得注意的是,根据半年报数据,天际股份13.37%股份处于质押状态。其中,第一大股东汕头市天际有限公司质押6701.03万股公司股份,占其全部持股的88.42%。
筹码集中度方面,截至2024年上半年末,公司股东总户数为5.92万户,较一季度末下降了634户,降幅1.06%;户均持股市值由一季度末的8.58万元下降至5.82万元,降幅为32.17%。

指标注解:
市盈率
=总市值/净利润。当公司亏损时市盈率为负,此时用市盈率估值没有实际意义,往往用市净率或市销率做参考。
市净率
=总市值/净资产。市净率估值法多用于盈利波动较大而净资产相对稳定的公司。
市销率
=总市值/营业收入。市销率估值法通常用于亏损或微利的成长型公司。
文中市盈率和市销率采用TTM方式,即以截至最近一期财报(含预报)12个月的数据计算。市净率采用LF方式,即以最近一期财报数据计算。
市盈率为负时,不显示当期分位数,会导致折线图中断。